Запчасти Komatsu PC220-3 WRIST УПРАВЛ-Е И СТОЙКА¤ ПРАВ. (/)(№-77) ПОВОРОТН. И СИСТЕМА УПРАВЛЕНИЯ

Схема запчастей Komatsu PC220-3 - WRIST УПРАВЛ-Е И СТОЙКА¤ ПРАВ. (/)(№-77) ПОВОРОТН. И СИСТЕМА УПРАВЛЕНИЯ
FIT
1:1
100%

Артикул

Название

Примечание

Количество

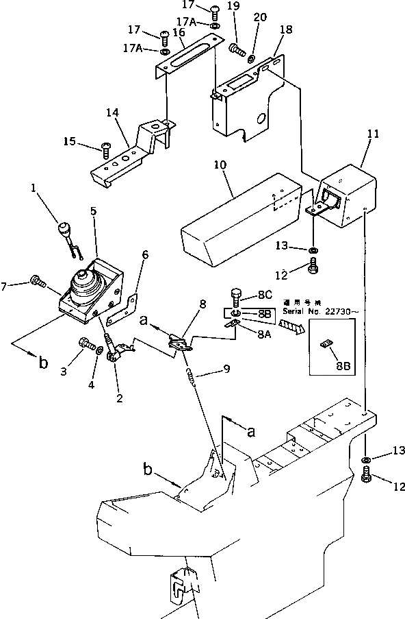
1

205-06-71360

SWITCH,HORN

2

205-43-71382

LEVER,R.H.

3

01010-50825

BOLT

4

01643-30823

WASHER

5

205-43-71222

BOOT

6

205-43-71991

COVER

7

205-43-71280

SCREW

8

205-43-71942

LEVER,R.H.

8A

205-43-71790

PLATE

8B

205-43-73410

PLATE

8B

01602-20619

WASHER,SPRING

8C

01252-40618

BOLT

9

205-43-73340

SPRING

10

205-43-71981

CUSHION,R.H.

10

205-43-71980

CUSHION,R.H.

11

205-43-71622

COVER,R.H.

11

205-43-71621

COVER,R.H.

12

01010-50820

BOLT

13

01643-30823

WASHER

14

205-43-71961

COVER

15

205-43-71280

SCREW

16

205-43-71951

PLATE

17

205-43-71280

SCREW

17A

205-43-73420

WASHER

18

205-43-71971

COVER

19

198-911-3430

SCREW

20

198-911-3160

WASHER

Выбрано товаров: 0