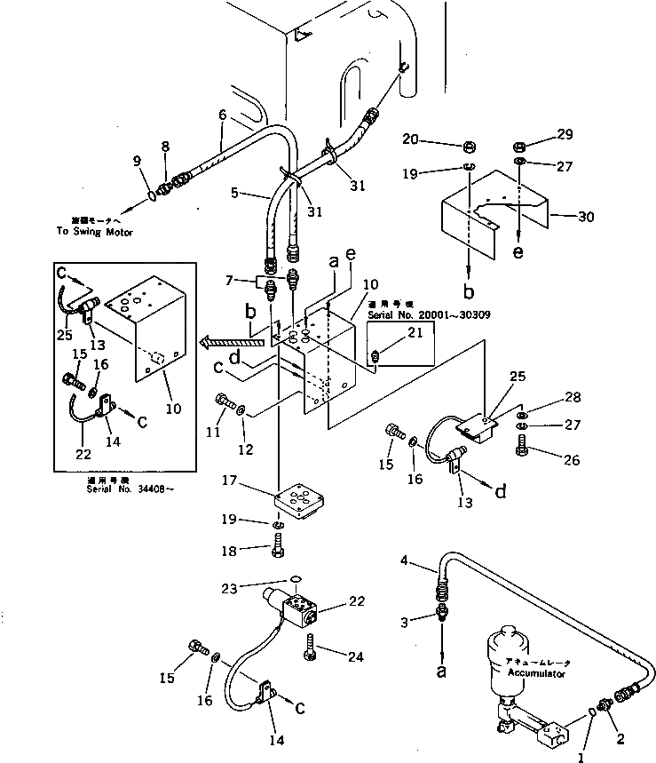
Запчасти Komatsu PC220-3 ПОВОРОТН. МЕХАНИЧ. ТОРМОЗНАЯ ГИДРОЛИНИЯ (АВТОМ. ЗАМЕДЛЕНИЕ ОБОРОТОВ¤ ПОВОРОТН. МЕХАНИЧ. ТОРМОЗ.)(№78-) ПОВОРОТН. И СИСТЕМА УПРАВЛЕНИЯ

Схема запчастей Komatsu PC220-3 - ПОВОРОТН. МЕХАНИЧ. ТОРМОЗНАЯ ГИДРОЛИНИЯ (АВТОМ. ЗАМЕДЛЕНИЕ ОБОРОТОВ¤ ПОВОРОТН. МЕХАНИЧ. ТОРМОЗ.)(№78-) ПОВОРОТН. И СИСТЕМА УПРАВЛЕНИЯ
FIT
1:1
100%

Артикул

Название

Примечание

Количество

1

07002-01423

O-RING

2

07230-20210

UNION

2

07230-10210

UNION

3

22W-62-17710

NIPPLE

4

205-62-74310

HOSE

5

07102-20209

HOSE

6

07108-20205

HOSE

7

22W-62-17710

NIPPLE

8

07230-20210

UNION

8

07230-10210

UNION

9

07002-01423

O-RING

10

205-62-74221

BRACKET

11

01010-51225

BOLT

12

01643-31232

WASHER

13

08052-32411

CLIP

13

08036-02514

CLIP

14

08052-31711

CLIP

14

08036-01814

CLIP

15

01010-51025

BOLT

15

01010-51025

BOLT

16

01643-31032

WASHER

16

01643-31032

WASHER

17

205-62-74211

BLOCK

18

01252-40535

BOLT

19

01601-20513

WASHER,SPRING

20

01580-10504

NUT

21

07042-30312

PLUG

22

205-62-74571

VALVE,SOLENOID

23

205-62-74580

O-RING

24

01252-40550

BOLT

25

207-06-31450

TIMER

26

01252-40520

BOLT

27

01601-20513

WASHER,SPRING

28

01642-20508

WASHER

29

01580-10504

NUT

30

205-62-74550

COVER

31

08034-00519

BAND

Выбрано товаров: 37