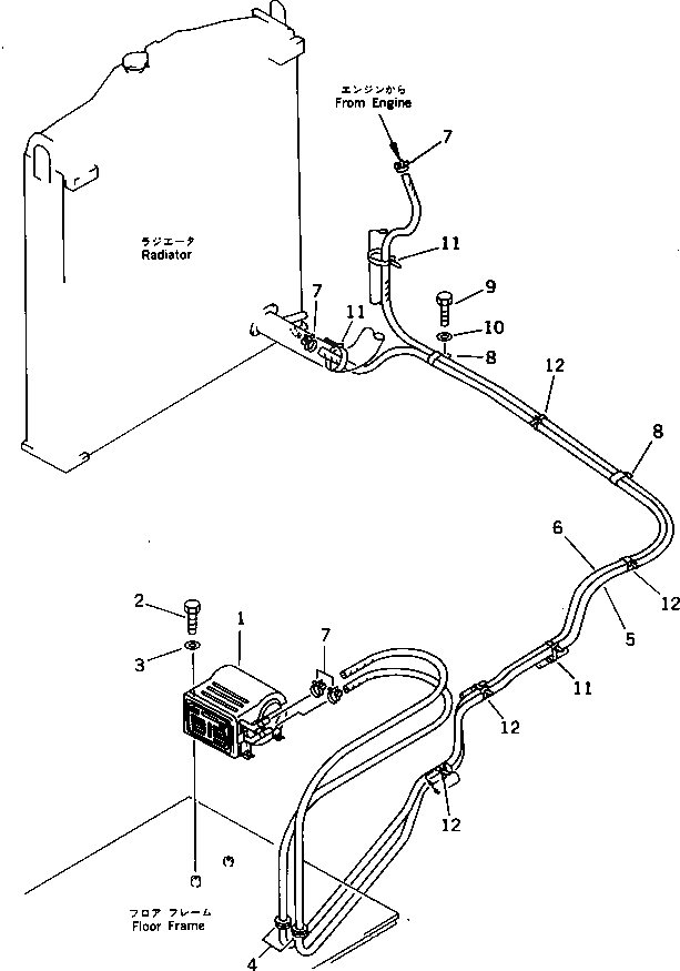
Запчасти Komatsu PC220-3 ОБОГРЕВАТЕЛЬ. И ТРУБЫ(№-) ОСНОВНАЯ РАМА И КАБИНА

Схема запчастей Komatsu PC220-3 - ОБОГРЕВАТЕЛЬ. И ТРУБЫ(№-) ОСНОВНАЯ РАМА И КАБИНА
FIT
1:1
100%

Артикул

Название

Примечание

Количество

1

205-977-7111

HEATER UNIT

1

205-977-7110

HEATER UNIT

2

01010-51020

BOLT

2

01010-51020

BOLT

3

01643-31032

WASHER

3

01643-31032

WASHER

4

205-977-7310

GROMMET

5

09483-00444

HOSE

6

09483-00440

HOSE

7

09480-10100

CLAMP

8

141-06-11220

CLIP

9

01010-51220

BOLT

10

01643-51232

WASHER

11

08034-00536

BAND

12

08034-00519

BAND

Выбрано товаров: 15