Запчасти Komatsu PC220-3 УПРАВЛЯЮЩ. КЛАПАН (/7) (ДЛЯ УДЛИНН. РЫЧАГ УПРАВЛ-Е)(№-) УПРАВЛ-Е РАБОЧИМ ОБОРУДОВАНИЕМ

Схема запчастей Komatsu PC220-3 - УПРАВЛЯЮЩ. КЛАПАН (/7) (ДЛЯ УДЛИНН. РЫЧАГ УПРАВЛ-Е)(№-) УПРАВЛ-Е РАБОЧИМ ОБОРУДОВАНИЕМ
FIT
1:1
100%

Артикул

Название

Примечание

Количество

|$0

709-79-22101

CONTROL VALVE ASS'Y

|$1

709-79-22100

CONTROL VALVE ASS'Y

|$2

709-79-12109

CONTROL VALVE ASS'Y

|$3

709-79-12108

CONTROL VALVE ASS'Y

|$4

709-79-12107

CONTROL VALVE ASS'Y

|$5

709-79-12106

CONTROL VALVE ASS'Y

|$6

709-79-12105

CONTROL VALVE ASS'Y

|$7

709-79-12104

CONTROL VALVE ASS'Y

|$8

709-79-12103

CONTROL VALVE ASS'Y

|$9

709-75-92105

VALVE ASS'Y

|$10

709-75-92104

VALVE ASS'Y

|$11

709-75-00020

VALVE ASS'Y

|$12

709-75-92103

VALVE ASS'Y

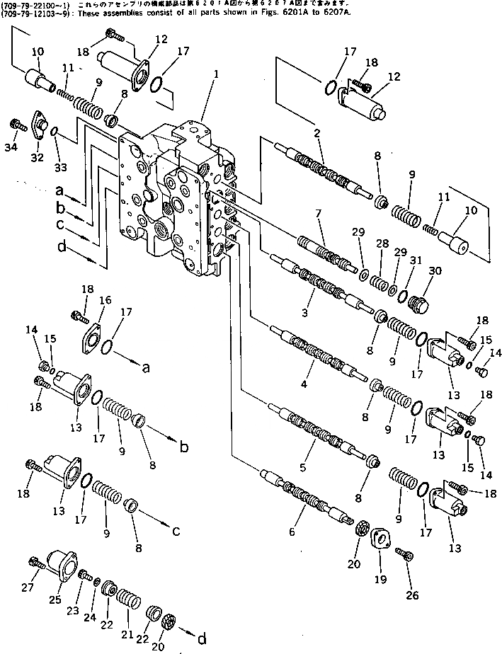
1

BODY,VALVE

1

BODY,VALVE

2

SPOOL,SWING

3

SPOOL,BOOM HIGH

4

SPOOL,SERVICE

5

SPOOL,ARM

6

SPOOL,L.H. TRAVEL

7

SPOOL

8

709-74-92110

RETAINER

9

709-74-92180

SPRING

10

709-74-92420

RETAINER

11

709-74-92430

SPRING

12

709-74-92580

CASE

13

709-74-92120

CASE

14

07040-11409

PLUG

15

07002-01423

O-RING

16

709-74-92590

PLATE

17

709-74-92170

O-RING

18

01252-30820

BOLT

19

709-75-92110

PLATE

20

709-75-92120

SEAL

21

709-75-92180

SPRING

22

709-75-92130

RETAINER

23

01252-30812

BOLT

24

01643-30823

WASHER

25

709-75-92140

CASE

26

01252-30812

BOLT

27

01252-30825

BOLT

28

709-74-92210

SPRING

29

709-74-92270

WASHER

30

709-74-92230

PLUG

31

07002-03034

O-RING

32

709-74-92260

PLATE

33

07000-02018

O-RING

34

01252-30820

BOLT

Выбрано товаров: 48