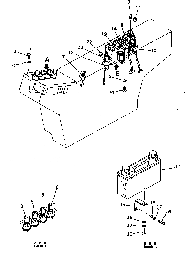
Запчасти Komatsu PC220-3 ПАНЕЛЬ ПРИБОРОВ (/) (ДЛЯ УДЛИНН. РЫЧАГ УПРАВЛ-Е)(№-) КОМПОНЕНТЫ ДВИГАТЕЛЯ И ЭЛЕКТРИКА

Схема запчастей Komatsu PC220-3 - ПАНЕЛЬ ПРИБОРОВ (/) (ДЛЯ УДЛИНН. РЫЧАГ УПРАВЛ-Е)(№-) КОМПОНЕНТЫ ДВИГАТЕЛЯ И ЭЛЕКТРИКА
FIT
1:1
100%

Артикул

Название

Примечание

Количество

1

01220-40616

SCREW

2

01641-20608

WASHER

3

205-06-72160

SWITCH,MODE

4

205-06-71321

SWITCH,HEATER

5

205-06-71331

SWITCH,LAMP

6

205-06-71341

SWITCH,WIPER

7

205-06-64540

LAMP

7

08111-02430

BULB, 3W

8

207-06-31220

WIRING HARNESS

9

203-06-41680

CAP

10

207-06-31240

WIRING HARNESS

11

203-06-41610

CAP

12

207-06-31320

SWITCH

13

205-26-91140

SPACER

14

205-06-72510

RADIO ASS'Y

15

207-06-31170

BRACKET

16

01220-40512

SCREW

17

01601-20513

WASHER,SPRING

18

01642-20508

WASHER

19

195-822-6151

LIGHTER

20

01220-40408

SCREW

21

01641-20405

WASHER

22

203-06-41610

CAP

Выбрано товаров: 23