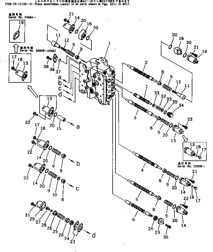
Запчасти Komatsu PC220-3 УПРАВЛЯЮЩ. КЛАПАН (/7) (ДЛЯ WRIST УПРАВЛ-Е)(№-) УПРАВЛ-Е РАБОЧИМ ОБОРУДОВАНИЕМ

Схема запчастей Komatsu PC220-3 - УПРАВЛЯЮЩ. КЛАПАН (/7) (ДЛЯ WRIST УПРАВЛ-Е)(№-) УПРАВЛ-Е РАБОЧИМ ОБОРУДОВАНИЕМ
FIT
1:1
100%

Артикул

Название

Примечание

Количество

|$0

709-79-12102

CONTROL VALVE ASS'Y

|$1

709-79-12101

CONTROL VALVE ASS'Y

|$2

709-79-12100

CONTROL VALVE ASS'Y

|$3

709-75-00020

VALVE ASS'Y

|$4

709-75-92101

VALVE ASS'Y

|$5

709-75-92100

VALVE ASS'Y

1

BODY,VALVE

2

SPOOL,SWING

3

SPOOL,BOOM HIGH

4

SPOOL,SERVICE

5

SPOOL,ARM

5

SPOOL

6

SPOOL,L.H. TRAVEL

7

SPOOL

8

709-74-92110

RETAINER

9

709-74-92180

SPRING

10

709-74-92360

SHIM, 0.5MM

11

709-74-92420

RETAINER

12

709-74-92430

SPRING

13

709-74-92120

CASE

13

709-74-92120

CASE

13

709-74-92130

CASE

14

709-74-92120

CASE

15

709-74-92160

COLLAR

16

709-74-92410

PLATE

17

07040-11409

PLUG

17

07040-11409

PLUG

17

07040-11409

PLUG

18

07002-01423

O-RING

18

07002-01423

O-RING

18

07002-01423

O-RING

19

709-74-92590

PLATE

20

709-74-92170

O-RING

21

01252-30850

BOLT

22

01252-30820

BOLT

23

709-75-92110

PLATE

24

709-75-92120

SEAL

25

709-75-92180

SPRING

25

709-75-92150

SPRING

26

709-75-92130

RETAINER

27

01252-30812

BOLT

28

01643-30823

WASHER

29

709-75-92140

CASE

30

01252-30812

BOLT

31

01252-30825

BOLT

32

709-74-92210

SPRING

33

709-74-92270

WASHER

34

709-74-92230

PLUG

35

07002-03034

O-RING

36

709-74-92260

PLATE

37

07000-02018

O-RING

38

01252-30820

BOLT

Выбрано товаров: 52