Запчасти Komatsu PC220-3 УПРАВЛЯЮЩ. КЛАПАН (/7) (ДЛЯ WRIST УПРАВЛ-Е)(№-) УПРАВЛ-Е РАБОЧИМ ОБОРУДОВАНИЕМ

Схема запчастей Komatsu PC220-3 - УПРАВЛЯЮЩ. КЛАПАН (/7) (ДЛЯ WRIST УПРАВЛ-Е)(№-) УПРАВЛ-Е РАБОЧИМ ОБОРУДОВАНИЕМ
FIT
1:1
100%

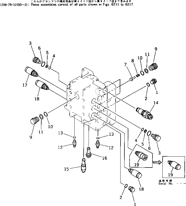
Артикул

Название

Примечание

Количество

|$0

709-79-12102

CONTROL VALVE ASS'Y

|$1

709-79-12101

CONTROL VALVE ASS'Y

|$2

709-79-12100

CONTROL VALVE ASS'Y

|$3

709-74-92101

VALVE ASS'Y

|$4

709-74-92100

VALVE ASS'Y

1

700-22-11370

PLUG

2

07002-12434

O-RING

3

700-84-13960

PLUG

4

700-22-11410

O-RING

5

700-80-64220

RING,BACK-UP

6

07002-03034

O-RING

7

709-75-92210

VALVE,CHECK

8

709-75-92220

SPRING

9

709-75-92230

PLUG

10

700-93-11320

O-RING

11

700-93-11330

RING,BACK-UP

12

709-75-92240

UNION

13

07002-01623

O-RING

14

709-70-51200

RELIEF VALVE ASS'Y

15

709-70-55100

RELIEF VALVE ASS'Y

16

709-70-91300

ORIFICE ASS'Y

17

709-70-61100

VALVE ASS'Y,SUCTION AND SAFETY

18

709-70-61200

VALVE ASS'Y,SUCTION AND SAFETY

18

709-70-61200

VALVE ASS'Y,SUCTION AND SAFETY

19

709-70-62200

VALVE ASS'Y

19

709-70-62100

VALVE ASS'Y

Выбрано товаров: 26