Запчасти Komatsu PC220-3 КОВШ¤ .9M¤ ШИР. MM(№-88) РАБОЧЕЕ ОБОРУДОВАНИЕ

Схема запчастей Komatsu PC220-3 - КОВШ¤ .9M¤ ШИР. MM(№-88) РАБОЧЕЕ ОБОРУДОВАНИЕ
FIT
1:1
100%

Артикул

Название

Примечание

Количество

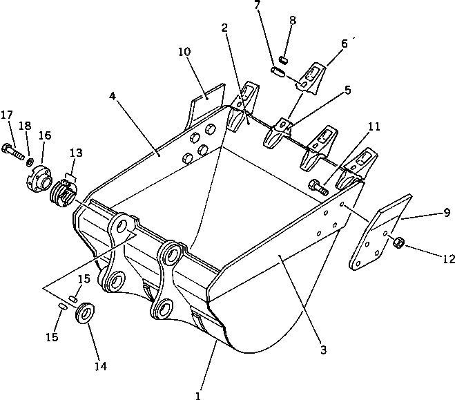
1

206-70-54111

BUCKET

2

206-70-54160

PLATE (WELDED)

3

206-70-54141

PLATE (WELDED)

4

206-70-54151

PLATE (WELDED)

5

206-70-54121

ADAPTER (WELDED)

6

207-70-34211

TOOTH

7

207-70-34220

PIN

8

205-70-74290

LOCK

9

205-70-74180

CUTTER,L.H.

10

205-70-74190

CUTTER,R.H.

11

176-32-11210

BOLT, SHOE

12

01803-02430

NUT

13

205-70-00100

SHIM ASS'Y

13

SHIM, 0.5MM

13

SHIM, 1.0MM

14

205-70-74380

SPACER

15

04020-00514

PIN,DOWEL

16

205-70-74390

BUSHING

17

01010-52055

BOLT

18

01643-32060

WASHER

Выбрано товаров: 20