Запчасти Komatsu PC220-3 КОВШ¤ .9M¤ ШИР. MM¤ С КРЮК (КРОМЕ ЯПОН.)(№-) РАБОЧЕЕ ОБОРУДОВАНИЕ

Схема запчастей Komatsu PC220-3 - КОВШ¤ .9M¤ ШИР. MM¤ С КРЮК (КРОМЕ ЯПОН.)(№-) РАБОЧЕЕ ОБОРУДОВАНИЕ
FIT
1:1
100%

Артикул

Название

Примечание

Количество

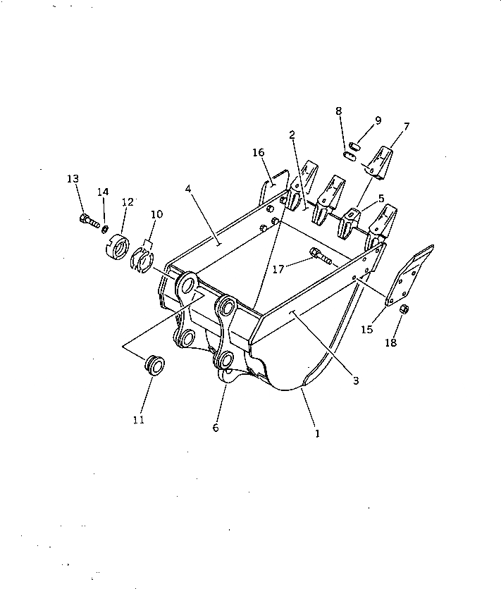
1

206-70-58170

BUCKET

2

206-70-58141

PLATE (WELDED)

3

206-70-58120

PLATE,L.H. (WELDED)

4

206-70-58130

PLATE,R.H. (WELDED)

5

206-70-58150

ADAPTER (WELDED)

6

205-70-69570

HOOK (WELDED)

7

206-70-54221

TOOTH

8

207-70-34221

PIN

9

205-70-74291

LOCK

10

205-70-00100

SHIM ASS'Y

10

SHIM, 0.5MM

10

SHIM, 1.0MM

11

205-70-74381

SPACER

12

205-70-74391

PLATE

13

01010-52055

BOLT

14

01643-32060

WASHER

15

205-70-74180

CUTTER,L.H.

16

205-70-74190

CUTTER,R.H.

17

176-32-11210

BOLT, SHOE

18

01803-02430

NUT

Выбрано товаров: 20