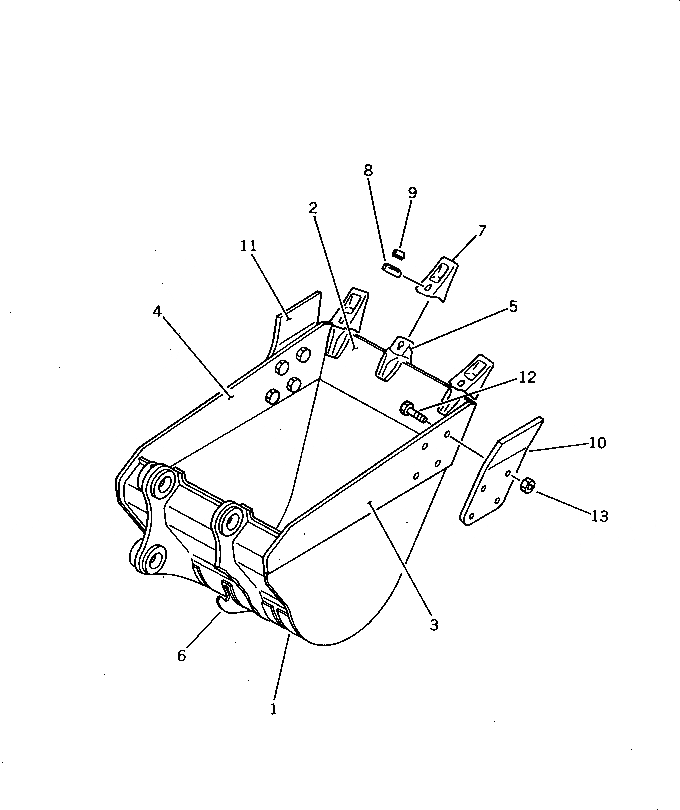
Запчасти Komatsu PC220-3 КОВШ¤ .M ШИР. 9MM¤ С БОКОРЕЗЫ (КРОМЕ ЯПОН.) РАБОЧЕЕ ОБОРУДОВАНИЕ

Схема запчастей Komatsu PC220-3 - КОВШ¤ .M ШИР. 9MM¤ С БОКОРЕЗЫ (КРОМЕ ЯПОН.) РАБОЧЕЕ ОБОРУДОВАНИЕ
FIT
1:1
100%

Артикул

Название

Примечание

Количество

1

206-926-5230

BUCKET

2

206-926-5220

PLATE (WELDED)

3

206-70-54141

PLATE (WELDED)

4

206-70-54151

PLATE (WELDED)

5

206-70-54121

ADAPTER (WELDED)

6

205-70-69570

HOOK (WELDED)

7

206-70-54221

TOOTH

7

206-70-54220

TOOTH

7

207-70-34211

TOOTH

8

207-70-34221

PIN

9

205-70-74291

LOCK

9

205-70-74290

LOCK

10

205-70-74180

CUTTER,L.H.

11

205-70-74190

CUTTER,R.H.

12

176-32-11210

BOLT, SHOE

13

01803-02430

NUT

Выбрано товаров: 16