Запчасти Komatsu PC220-3 ЭЛЕКТРИКА(КОМПОНЕНТЫ)(БЕЗ АВТОМ. ЗАМЕДЛЕНИЕ ОБОРОТОВ¤ ПОВОРОТН. МЕХАНИЧ. ТОРМОЗ.) (С -STAGE)(№-) КОМПОНЕНТЫ ДВИГАТЕЛЯ И ЭЛЕКТРИКА

Схема запчастей Komatsu PC220-3 - ЭЛЕКТРИКА(КОМПОНЕНТЫ)(БЕЗ АВТОМ. ЗАМЕДЛЕНИЕ ОБОРОТОВ¤ ПОВОРОТН. МЕХАНИЧ. ТОРМОЗ.) (С -STAGE)(№-) КОМПОНЕНТЫ ДВИГАТЕЛЯ И ЭЛЕКТРИКА
FIT
1:1
100%

Артикул

Название

Примечание

Количество

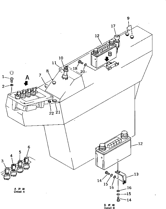
1

01220-40616

SCREW

2

01641-20608

WASHER

3

205-06-71311

SWITCH,MODE

4

205-06-71321

SWITCH,HEATER

5

205-06-71331

SWITCH,LAMP

6

205-06-71341

SWITCH,WIPER

7

09415-00706

CAP

8

09415-01610

CAP

9

09415-00706

CAP

10

207-06-31320

SWITCH

11

205-26-91140

SPACER

12

205-06-72510

RADIO ASS'Y

13

207-06-31170

BRACKET

14

01220-40512

SCREW

15

01601-20513

WASHER,SPRING

16

01642-20508

WASHER

17

195-822-6151

LIGHTER

18

01220-40408

SCREW

20

01641-20405

WASHER

21

09415-01610

CAP

22

09415-00706

CAP

Выбрано товаров: 21