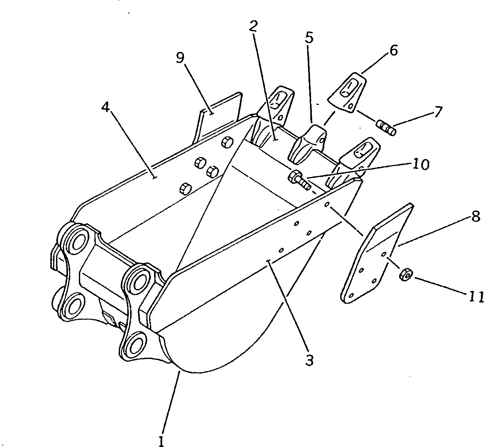
Запчасти Komatsu PC220-3 КОВШ¤ .M ШИР. MM¤ ГОРИЗОНТАЛЬН. ПАЛЕЦ РАБОЧЕЕ ОБОРУДОВАНИЕ

Схема запчастей Komatsu PC220-3 - КОВШ¤ .M ШИР. MM¤ ГОРИЗОНТАЛЬН. ПАЛЕЦ РАБОЧЕЕ ОБОРУДОВАНИЕ
FIT
1:1
100%

Артикул

Название

Примечание

Количество

1

206-926-5350

BUCKET

2

206-926-5360

PLATE (WELDED)

3

206-70-54141

PLATE (WELDED)

4

206-70-54151

PLATE (WELDED)

5

205-939-7120

ADAPTER (WELDED)

6

205-70-19570

TOOTH

7

09244-02496

PIN

8

205-70-74180

CUTTER,L.H.

9

205-70-74190

CUTTER,R.H.

10

176-32-11210

BOLT, SHOE

11

01803-02430

NUT

Выбрано товаров: 11