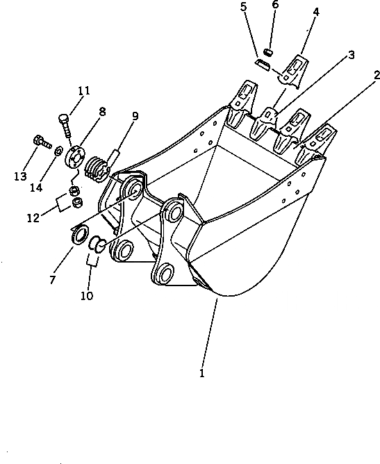
Запчасти Komatsu PC220-3 КОВШ¤ .M ШИР. 8MM (ДЛЯ FEET УДЛИНН. РУКОЯТЬ И СТРЕЛА) РАБОЧЕЕ ОБОРУДОВАНИЕ

Схема запчастей Komatsu PC220-3 - КОВШ¤ .M ШИР. 8MM (ДЛЯ FEET УДЛИНН. РУКОЯТЬ И СТРЕЛА) РАБОЧЕЕ ОБОРУДОВАНИЕ
FIT
1:1
100%

Артикул

Название

Примечание

Количество

1

202-70-53112

BUCKET

1

202-70-53111

BUCKET

2

202-70-53121

PLATE (WELDED)

2

202-70-53120

PLATE (WELDED)

3

203-70-43191

ADAPTER (WELDED)

3

203-70-43190

ADAPTER (WELDED)

4

203-70-43180

TOOTH

5

203-70-43210

PIN

6

203-70-43220

LOCK

7

203-70-44451

SPACER

8

203-70-44440

PLATE

9

203-70-44460

SHIM, 0.5MM

10

203-70-44470

O-RING

11

01011-51670

BOLT

12

01580-11613

NUT

13

01010-51470

BOLT

14

01643-31445

WASHER

Выбрано товаров: 17