Запчасти Komatsu PC220-3 ПЕДАЛЬ УПРАВЛ-Я (С ДОПОЛН. ГИДРОЛИНИЕЙ) (ДЛЯ WRIST УПРАВЛ-Е)(№-89) ОПЦИОННЫЕ КОМПОНЕНТЫ

Схема запчастей Komatsu PC220-3 - ПЕДАЛЬ УПРАВЛ-Я (С ДОПОЛН. ГИДРОЛИНИЕЙ) (ДЛЯ WRIST УПРАВЛ-Е)(№-89) ОПЦИОННЫЕ КОМПОНЕНТЫ
FIT
1:1
100%

Артикул

Название

Примечание

Количество

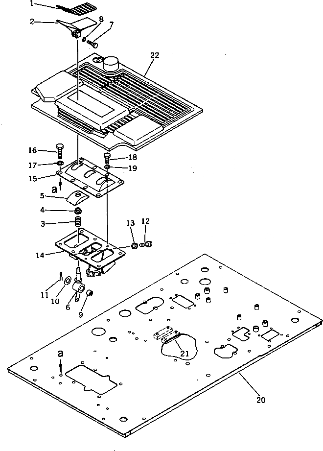
1

205-970-7240

SHEET

2

205-970-7230

PEDAL

3

09340-10130

SPRING

4

203-43-41660

SPACER

5

20S-43-11230

COVER

6

205-970-7250

LEVER

7

01010-50825

BOLT

8

01643-30823

WASHER

9

195-61-34130

BEARING

10

01640-02032

WASHER

11

04050-15030

PIN,COTTER

12

01016-51040

BOLT

13

01580-11008

NUT

14

205-970-7210

BRACKET

15

205-970-7220

COVER

16

01010-51235

BOLT

17

01643-31232

WASHER

18

01010-51016

BOLT

19

01643-31032

WASHER

20

205-970-7380

FRAME

21

205-970-7330

SEAT (WELDED)

22

205-970-7370

MAT,FLOOR

Выбрано товаров: 22