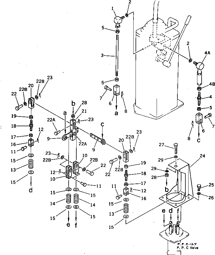
Запчасти Komatsu PC220-3 УДЛИНН. РЫЧАГ УПРАВЛ-Е И СТОЙКА¤ ЛЕВ. (/)(№-9) ПОВОРОТН. И СИСТЕМА УПРАВЛЕНИЯ

Схема запчастей Komatsu PC220-3 - УДЛИНН. РЫЧАГ УПРАВЛ-Е И СТОЙКА¤ ЛЕВ. (/)(№-9) ПОВОРОТН. И СИСТЕМА УПРАВЛЕНИЯ
FIT
1:1
100%

Артикул

Название

Примечание

Количество

1

04256-01018

JOINT

2

01643-31032

WASHER

3

04245-41017

ROD

4

135-43-35450

ROD

4A

205-43-73320

JOINT

4B

01508-21006

NUT

5

01582-11008

NUT

6

04210-21040

YOKE

7

04205-11028

PIN

8

04052-01038

PIN,SNAP

9

205-43-72751

LEVER

10

205-43-72741

YOKE

11

04205-10622

PIN

12

04050-11612

PIN,COTTER

13

205-43-73350

SPRING

14

205-43-72820

SPRING

15

01641-21423

WASHER

16

205-43-72890

YOKE

17

01580-10806

NUT

18

205-43-72920

BOLT

19

01508-20805

NUT,L.H. THREAD

20

205-43-72910

YOKE

21

205-43-72731

YOKE

22

04205-10826

PIN

22A

04205-10822

PIN

22B

01641-20812

WASHER

23

04050-12015

PIN,COTTER

24

205-43-72710

BRACKET

25

01010-50830

BOLT

26

01643-30823

WASHER

27

01016-51035

BOLT

28

01580-11008

NUT

29

01643-31032

WASHER

Выбрано товаров: 33