Качественные детали и логистика
Оригинальные и аналоговые запчасти с доставкой по России, Казахстану и Беларуси
©2022 PartSell ООО "Система" ИНН 2463123282 ОГРН 1212400004838
Центральный офис: г. Красноярск, Академика Киренского, д.87, пом.4
Телефон: 8 (800) 777-65-74 Email: zakaz@partsell.ru
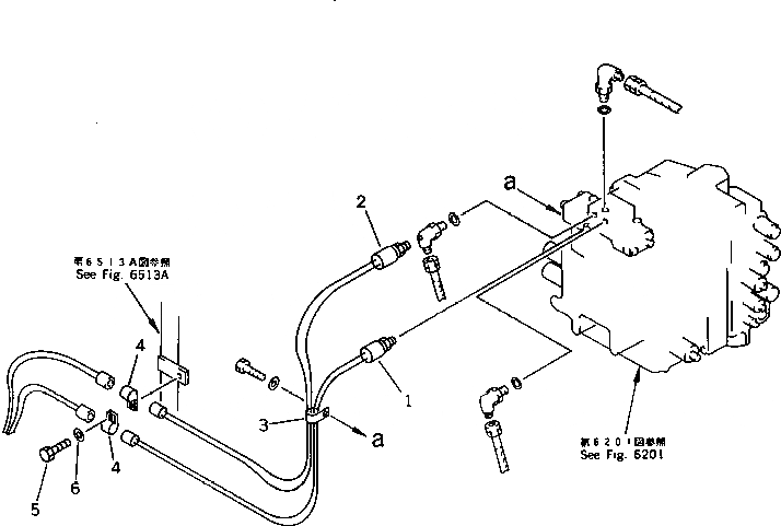
ГЛАВН. ТРУБЫ (АВТОМ. ЗАМЕДЛЕНИЕ ОБОРОТОВ¤ ПОВОРОТН. МЕХАНИЧ. ТОРМОЗ.)(№9-)
№
Артикул
Название
Примечание
Количество
1
205-06-72431
SWITCH
2
205-06-72442
|2
205-06-72441
3
08036-10810
CLIP
4
08052-31711
|4
08036-01814
5
01010-51020
BOLT
6
01643-31032
WASHER
Выбрано товаров: 0