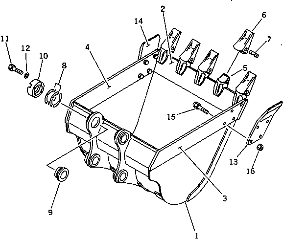
Запчасти Komatsu PC220-3 КОВШ¤ .M¤ ШИР. MM¤ ГОРИЗОНТАЛЬН. ПАЛЕЦ(№-) РАБОЧЕЕ ОБОРУДОВАНИЕ

Схема запчастей Komatsu PC220-3 - КОВШ¤ .M¤ ШИР. MM¤ ГОРИЗОНТАЛЬН. ПАЛЕЦ(№-) РАБОЧЕЕ ОБОРУДОВАНИЕ
FIT
1:1
100%

Артикул

Название

Примечание

Количество

1

206-920-6150

BUCKET

2

206-920-6120

PLATE (WELDED)

3

206-70-58120

PLATE,L.H. (WELDED)

4

206-70-58130

PLATE,R.H. (WELDED)

5

206-70-58520

ADAPTER (WELDED)

6

206-70-48610

TOOTH

7

09244-02516

PIN

8

205-70-00100

SHIM ASS'Y

|8

SHIM¤ 0.5MM

|8

SHIM¤ 1.0MM

9

205-70-74381

SPACER

10

205-70-74391

PLATE

11

01010-52055

BOLT

12

01643-32060

WASHER

13

205-70-74180

CUTTER,L.H.

14

205-70-74190

CUTTER,R.H.

15

176-32-11210

BOLT¤ SHOE

16

01803-02430

NUT

Выбрано товаров: 18