Запчасти Komatsu PC220-3 КОВШ¤ .M ШИР. MM РАБОЧЕЕ ОБОРУДОВАНИЕ

Схема запчастей Komatsu PC220-3 - КОВШ¤ .M ШИР. MM РАБОЧЕЕ ОБОРУДОВАНИЕ
FIT
1:1
100%

Артикул

Название

Примечание

Количество

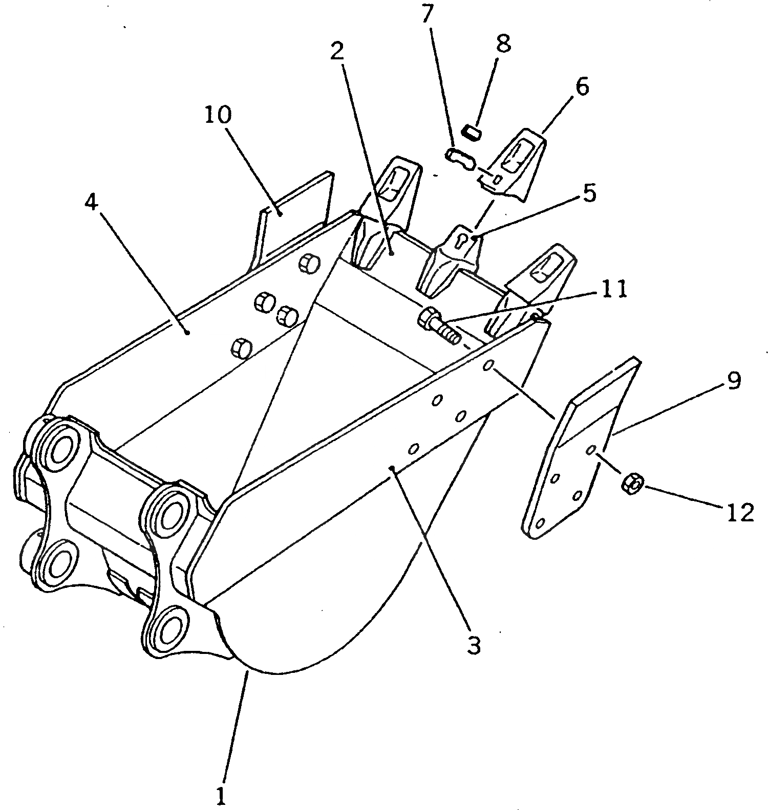
1

206-926-5311

BUCKET

2

206-926-5320

PLATE (WELDED)

3

206-70-54141

PLATE (WELDED)

4

206-70-54151

PLATE (WELDED)

5

206-70-54121

ADAPTER (WELDED)

6

206-70-54221

TOOTH

|6

206-70-54220

TOOTH

|6

207-70-34211

TOOTH

7

207-70-34221

PIN

|7

207-70-34220

PIN

8

205-70-74291

LOCK

|8

205-70-74290

LOCK

9

205-70-74180

CUTTER,L.H.

10

205-70-74190

CUTTER,R.H.

11

176-32-11210

BOLT¤ SHOE

12

01803-02430

NUT

Выбрано товаров: 16