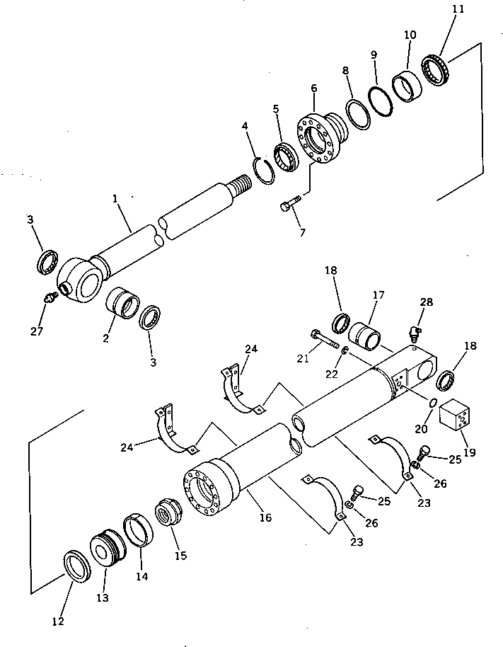
Запчасти Komatsu PC220-3 ЦИЛИНДР КОВША (ДЛЯ MM КОРОТК. РУКОЯТЬ) РАБОЧЕЕ ОБОРУДОВАНИЕ

Схема запчастей Komatsu PC220-3 - ЦИЛИНДР КОВША (ДЛЯ MM КОРОТК. РУКОЯТЬ) РАБОЧЕЕ ОБОРУДОВАНИЕ
FIT
1:1
100%

Артикул

Название

Примечание

Количество

|1

206-63-72300

BUCKET CYLINDER A.

1

206-63-72340

CYLINDER

2

707-76-80010

BUSHING

3

07145-00080

SEAL,DUST

4

07020-00900

FITTING,GREASE

5

707-27-14370

HEAD,CYLINDER

6

07177-01035

BUSHING

7

707-51-10211

PACKING,ROD

8

176-63-56170

SEAL,DUST

9

07179-00123

RING,BACK-UP

10

07000-12135

O-RING

11

07146-02136

RING,BACK-UP

12

01010-81860

BOLT

13

206-63-72320

ROD,PISTON

14

707-76-80020

BUSHING

15

205-70-62140

SEAL,DUST

16

07020-00000

FITTING,GREASE

17

707-36-14460

PISTON

18

707-44-14080

RING,PISTON

19

07155-01435

RING,WEAR

20

707-68-10608

NUT

21

707-87-11710

BLOCK

22

07000-13030

O-RING

23

01011-51210

BOLT

24

01602-21236

WASHER,SPRING

25

206-63-72170

TUBE

26

07000-13030

O-RING

27

01010-50845

BOLT

28

01010-50855

BOLT

29

01602-20825

WASHER,SPRING

30

707-88-99980

BAND

31

707-88-99410

BAND

32

01010-51030

BOLT

33

01602-21030

WASHER,SPRING

34

07282-02793

CLAMP

35

01010-51020

BOLT

36

01602-21030

WASHER,SPRING

Выбрано товаров: 37