Запчасти Komatsu PC220-3 ДОПОЛН. ГИДРОЛИНИЯ (ВОЗВРАТ.)(№-) ОПЦИОННЫЕ КОМПОНЕНТЫ

Схема запчастей Komatsu PC220-3 - ДОПОЛН. ГИДРОЛИНИЯ (ВОЗВРАТ.)(№-) ОПЦИОННЫЕ КОМПОНЕНТЫ
FIT
1:1
100%

Артикул

Название

Примечание

Количество

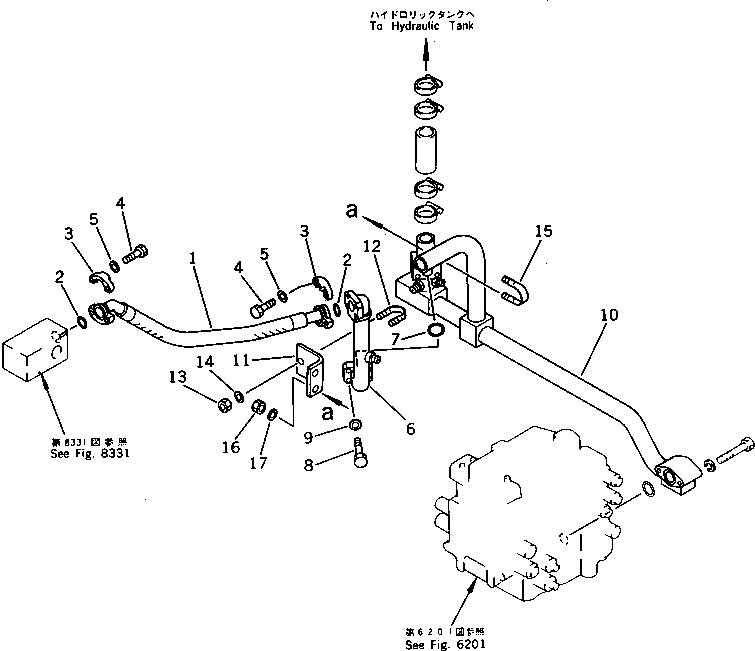
1

07297-01007

HOSE

2

07000-13032

O-RING

3

07371-31049

FLANGE,SPLIT

4

07372-21035

BOLT

5

01643-51032

WASHER

6

205-970-7440

TUBE

7

07000-13035

O-RING

8

07372-21040

BOLT

9

01643-51032

WASHER

10

205-970-7430

TUBE

11

205-970-7540

BRACKET

12

07283-23442

CLIP

13

01599-01011

NUT

14

01643-31032

WASHER

15

07283-24346

CLIP

16

01599-01011

NUT

17

01643-31032

WASHER

Выбрано товаров: 0