Запчасти Komatsu PC220-3 ФИЛЬТР ТРУБЫ (/) СПЕЦ. APPLICATION ЧАСТИ¤ МАРКИРОВКА¤ ИНСТРУМЕНТ И РЕМКОМПЛЕКТЫ

Схема запчастей Komatsu PC220-3 - ФИЛЬТР ТРУБЫ (/) СПЕЦ. APPLICATION ЧАСТИ¤ МАРКИРОВКА¤ ИНСТРУМЕНТ И РЕМКОМПЛЕКТЫ
FIT
1:1
100%

Артикул

Название

Примечание

Количество

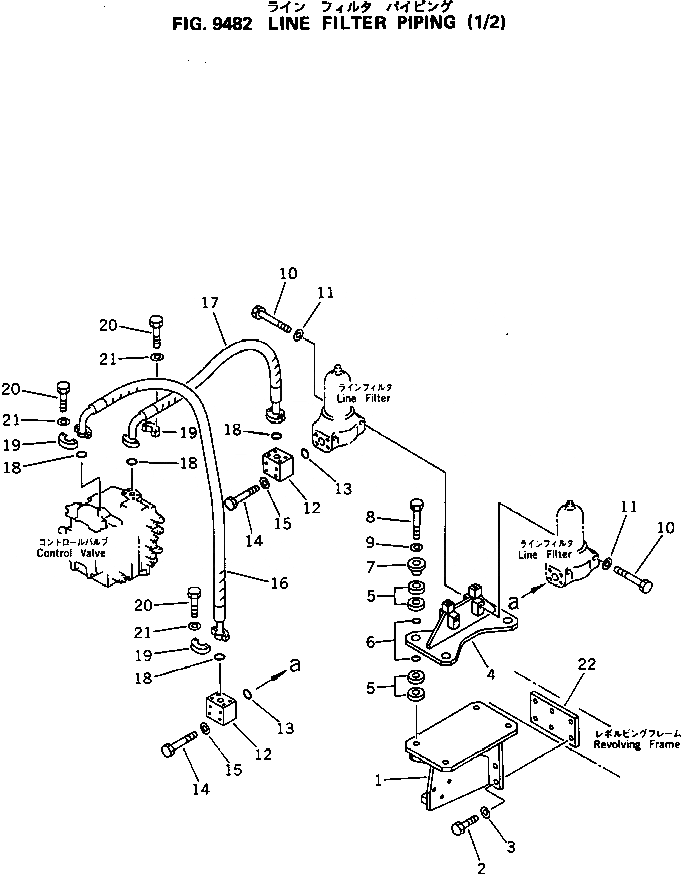
1

205-62-74950

BRACKET

2

01010-51635

BOLT

3

01643-31640

WASHER

4

207-62-51811

BRACKET

5

207-62-52670

CUSHION

6

07000-03022

O-RING

7

207-62-52570

COLLAR

8

01010-51285

BOLT

9

208-01-11270

WASHER

10

01011-51220

BOLT

11

01643-31232

WASHER

12

207-62-51880

BLOCK

13

21T-09-11470

O-RING

14

01010-51070

BOLT

15

01643-31032

WASHER

16

205-62-74970

HOSE

17

205-62-74960

HOSE

18

21T-09-11460

O-RING

19

07371-31049

FLANGE

20

07372-21035

BOLT

21

01643-51032

WASHER

22

205-46-73240

SEAT (WELDED)

Выбрано товаров: 0