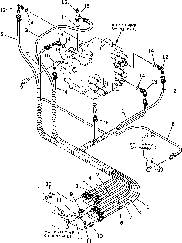
Запчасти Komatsu PC220-3 P.P.C. КЛАПАН ТРУБЫ (/) (ДЛЯ УДЛИНН. РЫЧАГ УПРАВЛ-Е)(№9-) ПОВОРОТН. И СИСТЕМА УПРАВЛЕНИЯ

Схема запчастей Komatsu PC220-3 - P.P.C. КЛАПАН ТРУБЫ (/) (ДЛЯ УДЛИНН. РЫЧАГ УПРАВЛ-Е)(№9-) ПОВОРОТН. И СИСТЕМА УПРАВЛЕНИЯ
FIT
1:1
100%

Артикул

Название

Примечание

Количество

|1

205-62-74830

HOSE ASS'Y

1

07102-20310

HOSE,(GREEN)

2

205-62-71710

HOSE,(YELLOW)

3

205-62-71720

HOSE

4

205-62-71780

HOSE,(BROWN)

5

205-62-74510

HOSE,(WHITE)

6

205-62-74310

HOSE,(BLUE)

7

07102-20313

HOSE,(BLACK)

8

07102-20310

HOSE,(RED)

9

07230-20210

UNION

|9

07230-10210

UNION

10

205-62-55270

NIPPLE

11

07002-01423

O-RING

12

07235-10210

ELBOW

13

207-62-33920

ELBOW

14

07002-01423

O-RING

15

07235-50210

ELBOW

16

07042-30108

PLUG

Выбрано товаров: 18