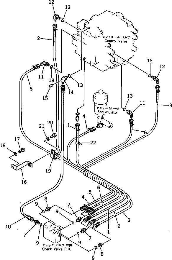
Запчасти Komatsu PC220-3 P.P.C. КЛАПАН ТРУБЫ (/) (ДЛЯ УДЛИНН. РЫЧАГ УПРАВЛ-Е)(№9-) ПОВОРОТН. И СИСТЕМА УПРАВЛЕНИЯ

Схема запчастей Komatsu PC220-3 - P.P.C. КЛАПАН ТРУБЫ (/) (ДЛЯ УДЛИНН. РЫЧАГ УПРАВЛ-Е)(№9-) ПОВОРОТН. И СИСТЕМА УПРАВЛЕНИЯ
FIT
1:1
100%

Артикул

Название

Примечание

Количество

|1

205-62-74840

HOSE ASS'Y

1

205-62-74310

HOSE,(BLUE)

2

07102-20312

HOSE,(YELLOW)

3

07102-20311

HOSE,(WHITE)

4

07102-20305

HOSE,(RED)

5

205-62-74290

HOSE,(GREEN)

6

205-62-74320

HOSE,(BLACK)

7

07230-20210

UNION

|7

07230-10210

UNION

8

205-62-55270

NIPPLE

9

07002-01423

O-RING

10

205-62-74320

HOSE

11

07235-10210

ELBOW

12

207-62-33920

ELBOW

13

07002-01423

O-RING

14

07235-50210

ELBOW

15

07042-30108

PLUG

16

205-62-71890

BRACKET

17

01010-51225

BOLT

18

01643-31232

WASHER

19

21T-06-11950

CLIP

20

01010-51225

BOLT

21

01643-31232

WASHER

22

08034-00519

BAND

Выбрано товаров: 24