Запчасти Komatsu PC220-5 ВЕРХН. ЗАЩИТА ЧАСТИ КОРПУСА

Схема запчастей Komatsu PC220-5 - ВЕРХН. ЗАЩИТА ЧАСТИ КОРПУСА
FIT
1:1
100%

Артикул

Название

Примечание

Количество

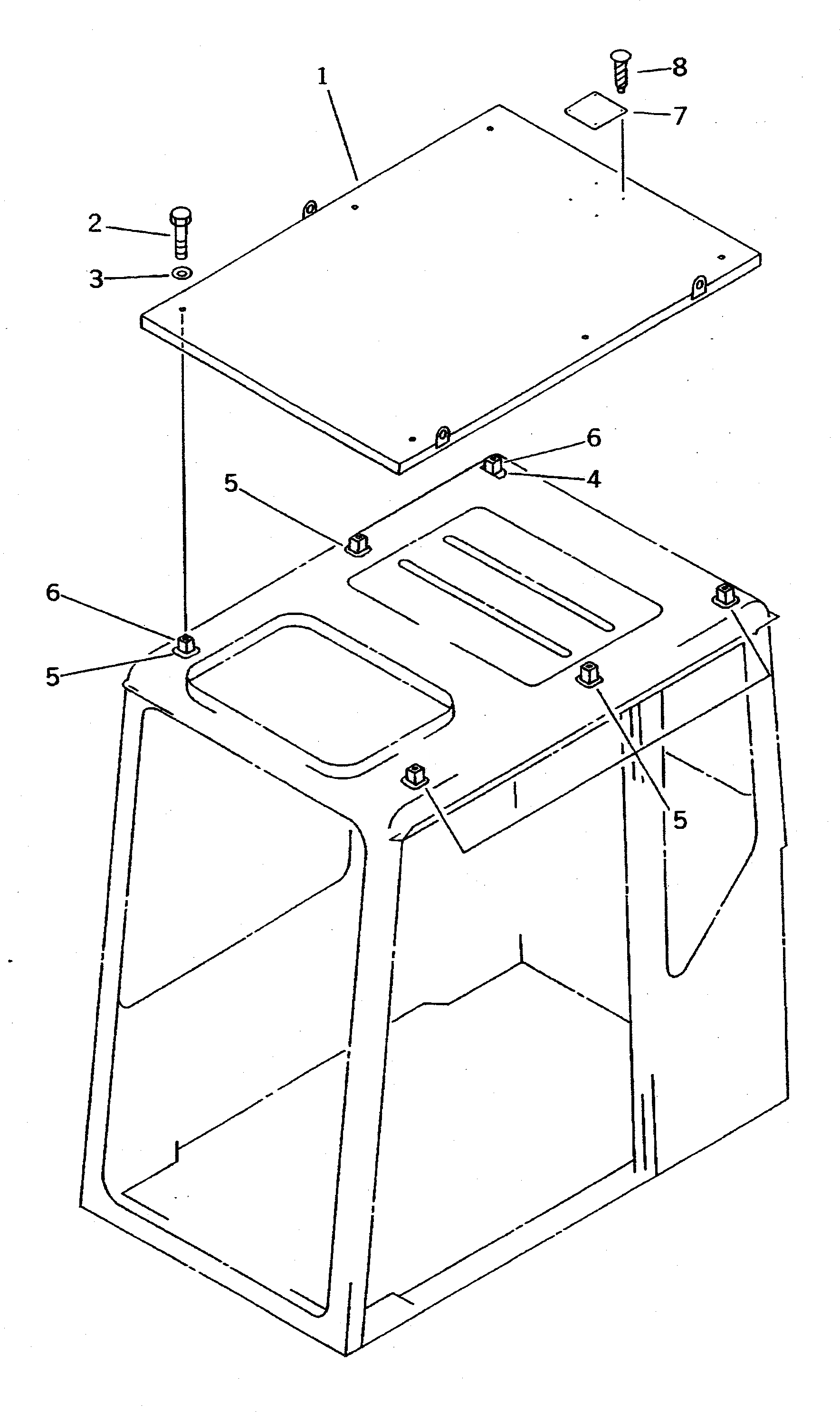
G-1

20Y-954-X201

HEAD GUARD GROUP

1

205-954-7120

GUARD

2

01010-51265

BOLT

3

01643-31232

WASHER

4

20Y-954-1120

PLATE (WELDED)

5

20Y-954-1130

PLATE (WELDED)

6

01572-21240

SEAT (WELDED)

7

09660-20100

PLATE, SAFETY,(LIMITED SUPPLY)

8

04418-13060

SCREW

Выбрано товаров: 9