Запчасти Komatsu PC220-5 ПРАВ. СТОЙКА И РЫЧАГ (ЗАДН. ) (ДЛЯ WRIST УПРАВЛ-Е)(№-) СИСТЕМА УПРАВЛЕНИЯ И ОСНОВНАЯ РАМА

Схема запчастей Komatsu PC220-5 - ПРАВ. СТОЙКА И РЫЧАГ (ЗАДН. ) (ДЛЯ WRIST УПРАВЛ-Е)(№-) СИСТЕМА УПРАВЛЕНИЯ И ОСНОВНАЯ РАМА
FIT
1:1
100%

Артикул

Название

Примечание

Количество

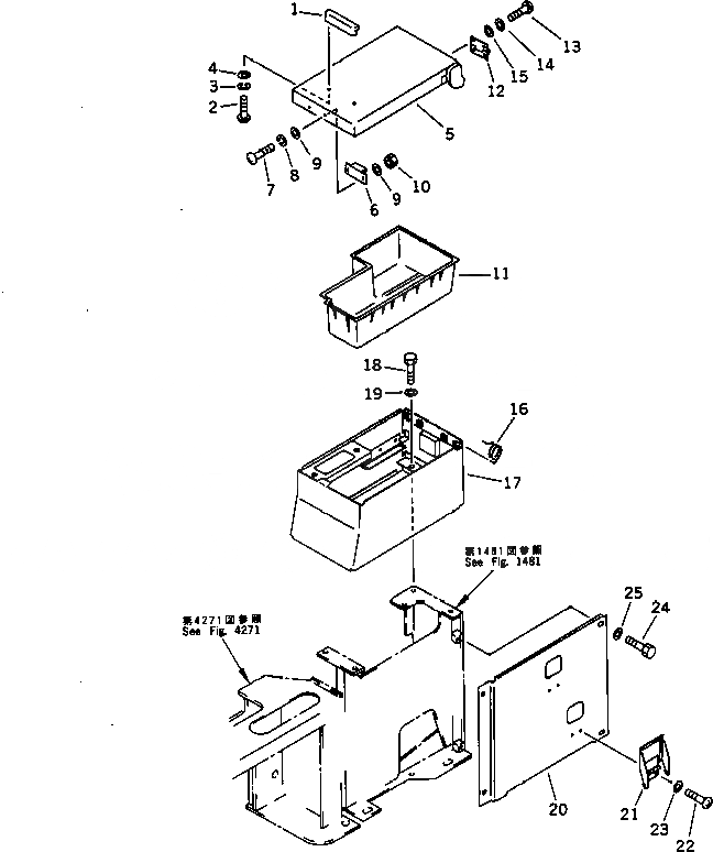
G-1

20Y-43-X3101

CONTROL GROUP

1

20Y-06-16330

HANDLE

2

01220-40510

SCREW

3

01601-20513

WASHER,SPRING

4

01641-20508

WASHER

5

20Y-06-16322

COVER

6

09452-14503

CATCHER

7

01220-40310

SCREW

8

01601-20307

WASHER,SPRING

9

01641-20508

WASHER

10

01580-10302

NUT

11

20Y-06-16341

TRAY

12

20Y-06-16350

HINGE

13

01220-40510

SCREW

14

01601-20513

WASHER,SPRING

15

01641-20508

WASHER

16

20Y-06-16581

SPRING

17

20Y-06-16312

BOX

18

01010-50820

BOLT

19

01643-30823

WASHER

20

20Y-06-16271

COVER

21

20Y-43-16250

COVER

22

01220-40408

SCREW

23

01641-20405

WASHER

24

01010-50820

BOLT

25

01643-30823

WASHER

Выбрано товаров: 0