Запчасти Komatsu PC220-5 ПРОТИВОВЕС (С ПЕТЛЯ ПЛАСТИНА) (ДЛЯ ЯПОН.)(№-) СИСТЕМА УПРАВЛЕНИЯ И ОСНОВНАЯ РАМА

Схема запчастей Komatsu PC220-5 - ПРОТИВОВЕС (С ПЕТЛЯ ПЛАСТИНА) (ДЛЯ ЯПОН.)(№-) СИСТЕМА УПРАВЛЕНИЯ И ОСНОВНАЯ РАМА
FIT
1:1
100%

Артикул

Название

Примечание

Количество

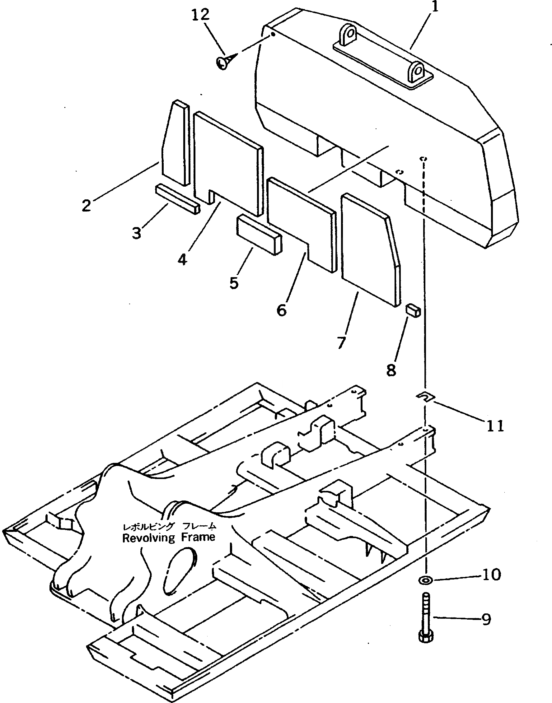
1

206-46-52220

WEIGHT,COUNTER

2

20Y-54-21660

SHEET

3

20Y-54-21670

SHEET

4

206-54-51581

SHEET

5

206-54-51320

SHEET

6

206-54-51550

SHEET

7

20Y-54-23440

SHEET

8

206-54-51570

SHEET

9

175-09-11110

BOLT

10

01643-32780

WASHER

11

20Y-46-11410

PLATE¤ 1.6MM

12

01370-00512

SCREW

Выбрано товаров: 12