Запчасти Komatsu PC220-5 КРЫШКАAND РАМА (С F.O.P.S.)(№-) ЧАСТИ КОРПУСА

Схема запчастей Komatsu PC220-5 - КРЫШКАAND РАМА (С F.O.P.S.)(№-) ЧАСТИ КОРПУСА
FIT
1:1
100%

Артикул

Название

Примечание

Количество

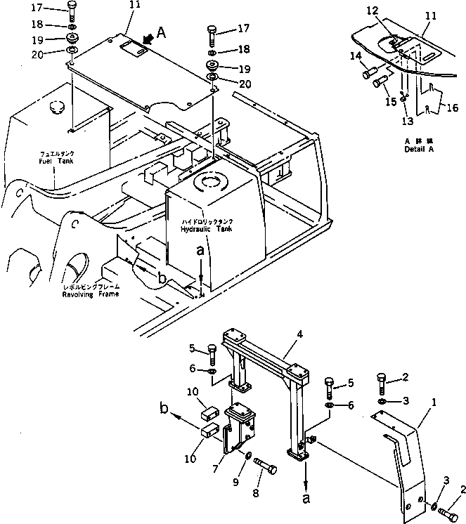
G-1

206-956-X221

FOPS GROUP

1

20Y-956-1151

COVER

2

01010-51235

BOLT

3

01643-31232

WASHER

4

20Y-956-1121

GUARD

5

01010-51640

BOLT

6

01643-31645

WASHER

7

20Y-956-1130

BRACKET

8

01011-51605

BOLT

9

01643-31645

WASHER

10

20Y-956-1160

PLATE

11

20Y-54-12195

COVER

12

203-54-32230

HINGE (WELDED)

13

09463-00006

SPRING

14

04205-10614

PIN

15

04205-10618

PIN

16

04050-11610

PIN,COTTER

17

01010-51230

BOLT

18

01643-31232

WASHER

19

20Y-54-12822

COLLAR

20

20Y-54-16950

PLATE

Выбрано товаров: 0