Качественные детали и логистика
Оригинальные и аналоговые запчасти с доставкой по России, Казахстану и Беларуси
©2022 PartSell ООО "Система" ИНН 2463123282 ОГРН 1212400004838
Центральный офис: г. Красноярск, Академика Киренского, д.87, пом.4
Телефон: 8 (800) 777-65-74 Email: zakaz@partsell.ru
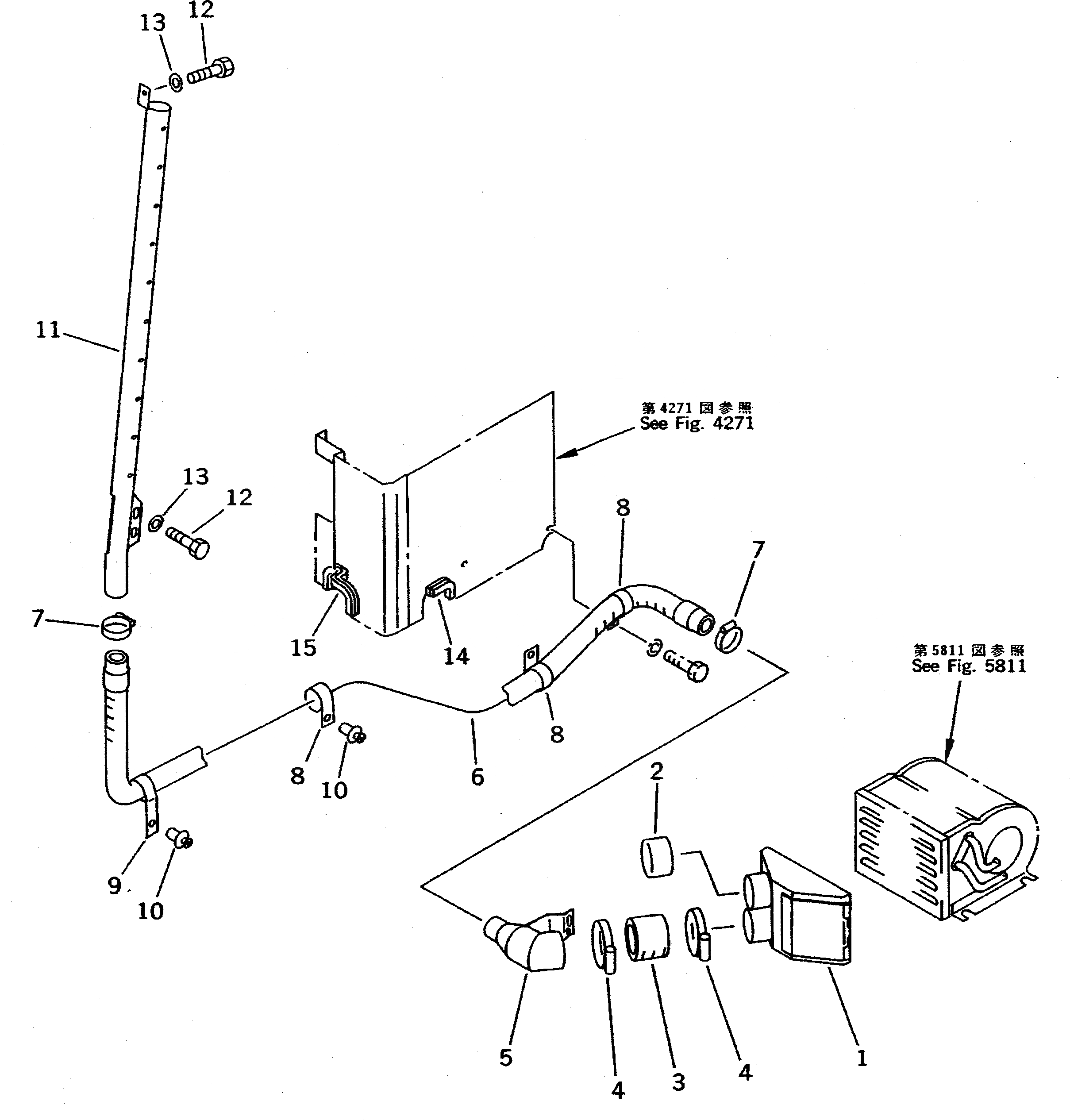
АНТИОБЛЕДЕНИТЕЛЬ (ДЛЯ WRIST УПРАВЛ-Е)
№
Артикул
Название
Примечание
Количество
G-1
20Y-977-X161
DEFROSTER GROUP
1
205-977-7261
COVER
2
205-977-7190
CAP
3
198-911-5290
HOSE
4
07281-00709
CLAMP
5
20Y-977-1190
DUCT
6
09485-03717
7
07281-00419
8
113-899-7950
CLIP
9
20Y-977-1160
10
20Y-54-13870
RIVET
11
20Y-977-1140
NOZZLE
12
01010-51020
BOLT
13
01643-31032
WASHER
14
208-54-13350
SEAL,(BONDED ON 20Y-43-16151)
15
208-54-12731
SEAL,(BONDED ON 20Y-43-16161)
Выбрано товаров: 0