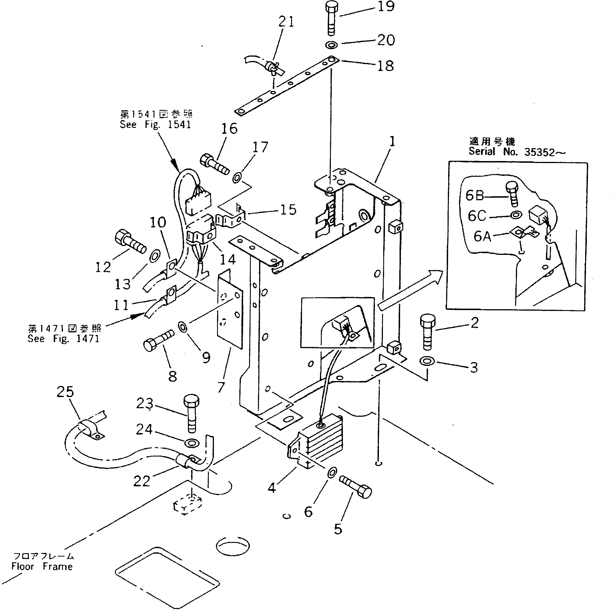
Запчасти Komatsu PC220-5 ЭЛЕКТРОПРОВОДКА В КАБИНЕ (КОРПУС КОНТРОЛЛЕРА) (ДЛЯ WRIST УПРАВЛ-Е)(№-) КОМПОНЕНТЫ ДВИГАТЕЛЯ И ЭЛЕКТРИКА

Схема запчастей Komatsu PC220-5 - ЭЛЕКТРОПРОВОДКА В КАБИНЕ (КОРПУС КОНТРОЛЛЕРА) (ДЛЯ WRIST УПРАВЛ-Е)(№-) КОМПОНЕНТЫ ДВИГАТЕЛЯ И ЭЛЕКТРИКА
FIT
1:1
100%

Артикул

Название

Примечание

Количество

G-1

206-06-X2301

CAB HARNESS GROUP

1

20Y-06-16221

BRACKET

2

01010-51225

BOLT

3

01643-31232

WASHER

4

7827-11-1520

RESISTOR

5

01010-50820

BOLT

6

01643-30823

WASHER

6A

08053-01512

CLIP

|6A

08053-01512

CLIP

6B

01010-51020

BOLT

6C

01643-31032

WASHER

7

20Y-06-16520

STAY

8

01010-50820

BOLT

9

01643-30823

WASHER

10

08035-02514

CLIP

11

08035-02514

CLIP

12

01010-51220

BOLT

13

01643-31232

WASHER

14

08053-16212

CLIP

|14

7821-92-5310

BRACKET

15

08053-15012

CLIP

|15

7821-92-5410

BRACKET

16

01010-50816

BOLT

17

01643-30823

WASHER

18

20Y-06-16261

PLATE

19

01010-50816

BOLT

20

01643-30823

WASHER

21

20Y-06-16250

CLIP

22

08036-03014

CLIP

23

01010-51220

BOLT

24

01643-31232

WASHER

25

141-06-11220

CLIP

Выбрано товаров: 32