Запчасти Komatsu PC220-5 ВЫРАВНИВАНИЕ УКЛОНОВ КОВШ РАБОЧЕЕ ОБОРУДОВАНИЕ
FIT
1:1
100%
№
Артикул
Название
Примечание
Количество
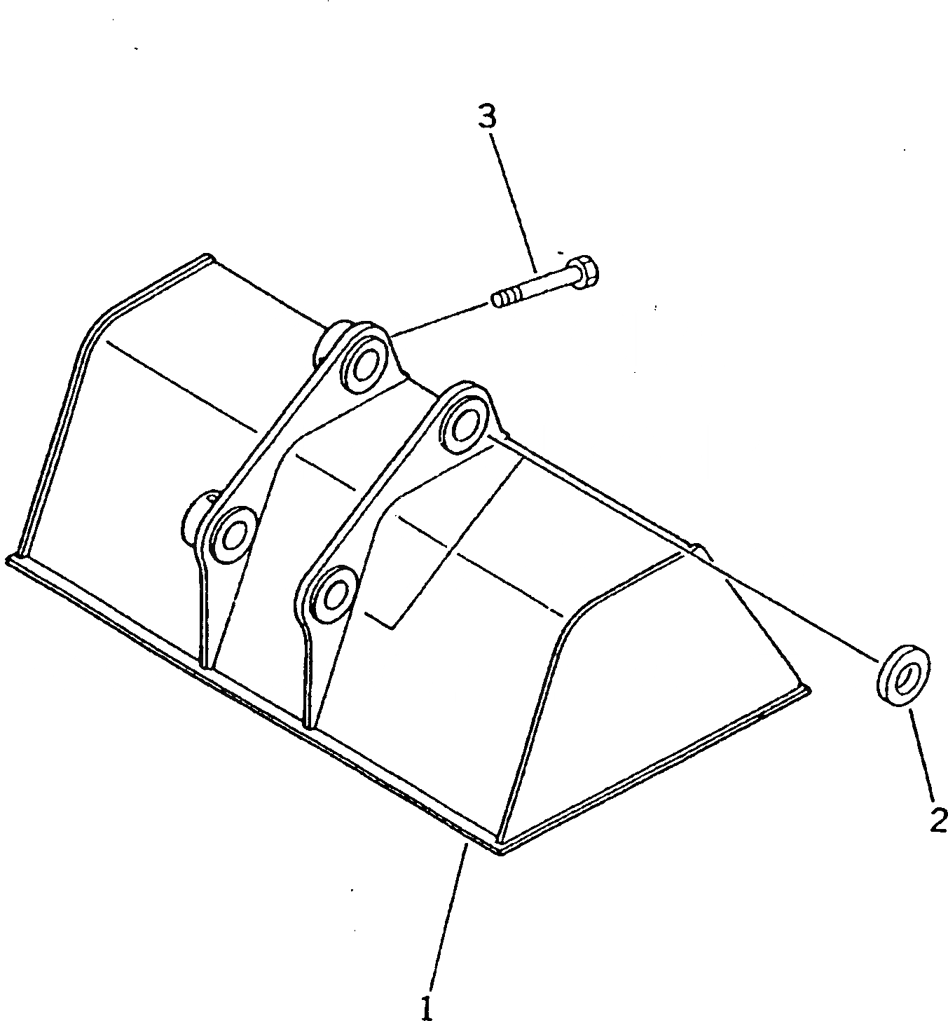
G-1
20Y-928-X101
BUCKET GROUP
1
205-928-6110
BUCKET
2
205-70-74410
COLLAR
3
205-70-73190
BOLT
Выбрано товаров: 0