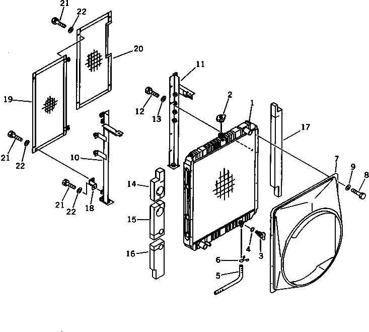
Запчасти Komatsu PC220-5 РАДИАТОР(№-7) КОМПОНЕНТЫ ДВИГАТЕЛЯ И ЭЛЕКТРИКА

Схема запчастей Komatsu PC220-5 - РАДИАТОР(№-7) КОМПОНЕНТЫ ДВИГАТЕЛЯ И ЭЛЕКТРИКА
FIT
1:1
100%

Артикул

Название

Примечание

Количество

1

206-03-51110

CORE ASS'Y

2

20Y-03-11280

CAP

3

205-03-62660

PLUG

4

07000-01007

O-RING

5

203-03-41411

HOSE

|5

205-03-71230

HOSE

6

20Y-03-11330

CLIP

7

206-03-51131

SHROUD

8

01010-50816

BOLT

9

01643-30823

WASHER

10

206-03-51151

FRAME

11

206-03-51142

FRAME

12

01010-50816

BOLT

13

01643-30823

WASHER

14

206-03-51291

SEAL

15

206-03-51331

SEAL

16

20Y-03-11292

SEAL

17

206-03-51322

SEAL

18

20Y-03-11550

BRACKET

19

206-03-51350

NET

20

206-03-51340

NET

21

01010-50816

BOLT

22

01643-30823

WASHER

Выбрано товаров: 23