Запчасти Komatsu PC220-5C КАБИНА (/7) (ВНУТР. ПОКРЫТИЕ) ЧАСТИ КОРПУСА

Схема запчастей Komatsu PC220-5C - КАБИНА (/7) (ВНУТР. ПОКРЫТИЕ) ЧАСТИ КОРПУСА
FIT
1:1
100%

Артикул

Название

Примечание

Количество

G-1

20Y-54-X1742

OPERATOR'S CAB GROUP

G-1

20Y-54-X1741

OPERATOR'S CAB GROUP

|$3

20Y-54-00101

OPERATOR'S CAB ASS'Y

|$4

20Y-54-00100

OPERATOR'S CAB ASS'Y

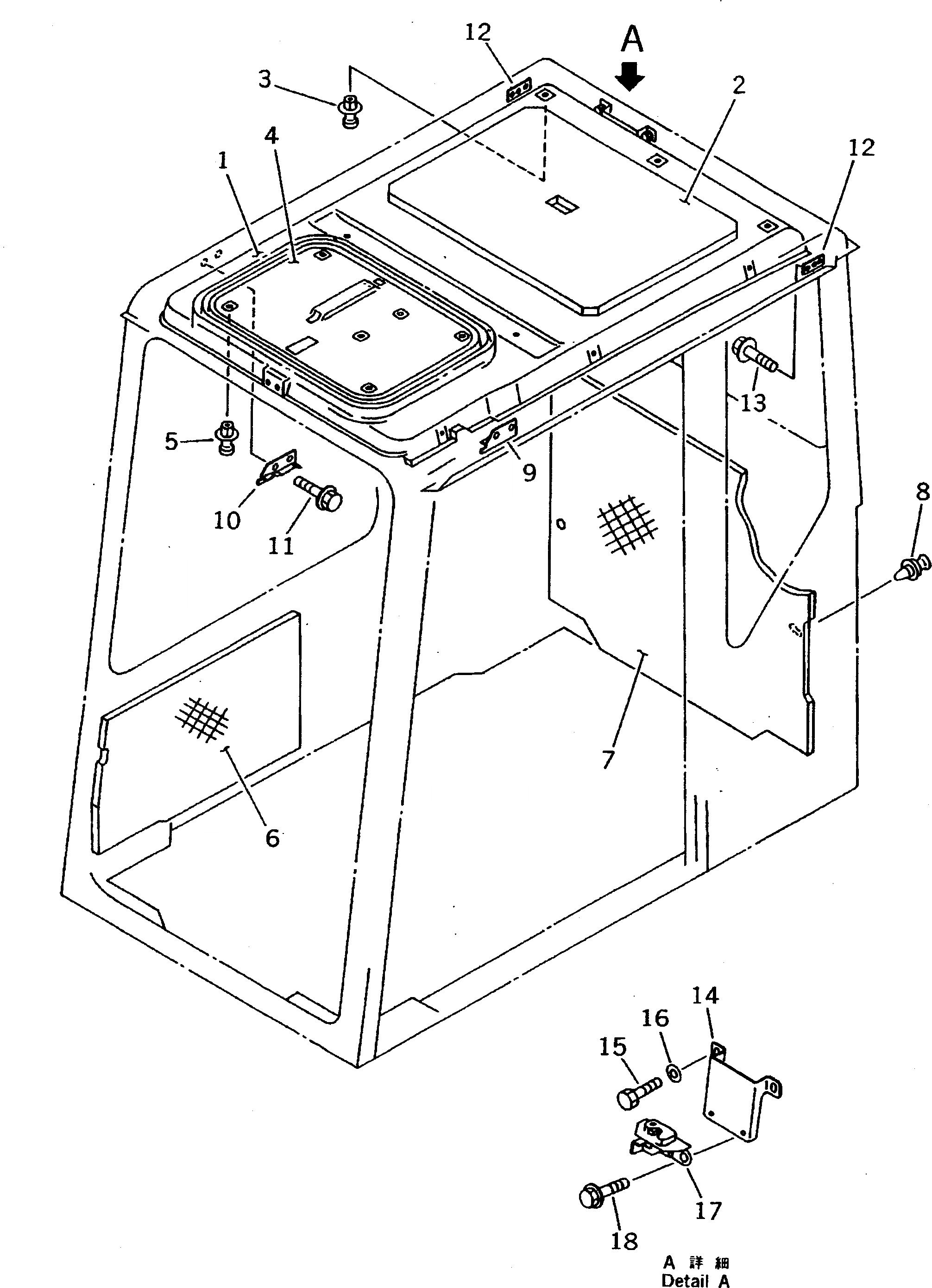
1

20Y-54-11924

COVER

2

20Y-54-11961

SHEET

3

20Y-54-13870

RIVET

4

20Y-54-14460

COVER

5

20Y-54-13870

RIVET

6

20Y-54-13432

LINING

7

20Y-54-11913

COVER

8

20Y-54-14560

CLIP ASS'Y

9

20Y-54-11532

DOVE TAIL,L.H.

10

20Y-54-11542

DOVE TAIL,R.H.

11

01435-01016

BOLT

12

20Y-54-14721

LOCK

13

01435-00816

BOLT

14

20Y-54-13910

BRACKET

15

01010-51020

BOLT

16

01643-31032

WASHER

17

205-54-63310

LOCK ASS'Y

18

01435-00820

BOLT

Выбрано товаров: 22