Запчасти Komatsu PC220-5C CROSS КЛАПАН (С ДОПОЛН. ГИДРОЛИНИЕЙ)(№-) УПРАВЛ-Е РАБОЧИМ ОБОРУДОВАНИЕМ

Схема запчастей Komatsu PC220-5C - CROSS КЛАПАН (С ДОПОЛН. ГИДРОЛИНИЕЙ)(№-) УПРАВЛ-Е РАБОЧИМ ОБОРУДОВАНИЕМ
FIT
1:1
100%

Артикул

Название

Примечание

Количество

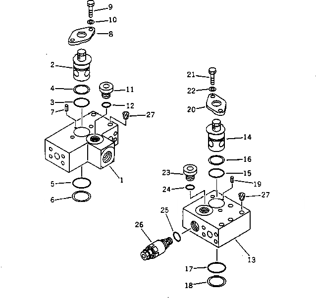
|$0

20Y-970-2200

VALVE ASS'Y,R.H.

1

20Y-970-3370

BLOCK

2

20Y-970-3410

ROTOR

3

07000-13042

O-RING

4

07001-03042

RING

5

07000-13048

O-RING

6

07001-03048

RING

7

04025-00412

PIN

8

20Y-970-3350

FLANGE

9

01010-51025

BOLT

10

01643-31032

WASHER

11

07040-12414

PLUG

12

07002-12434

O-RING

12

20Y-970-2100

VALVE ASS'Y,L.H.

13

20Y-970-3360

BLOCK

14

20Y-970-3390

ROTOR

15

07000-13042

O-RING

16

07001-03042

RING

17

07000-13048

O-RING

18

07001-03048

RING

19

04025-00412

PIN

20

20Y-970-3350

FLANGE

21

01010-51025

BOLT

22

01643-31032

WASHER

23

07040-12414

PLUG

24

07002-12434

O-RING

25

07002-03034

O-RING

26

709-70-71800

VALVE ASS'Y

Выбрано товаров: 28