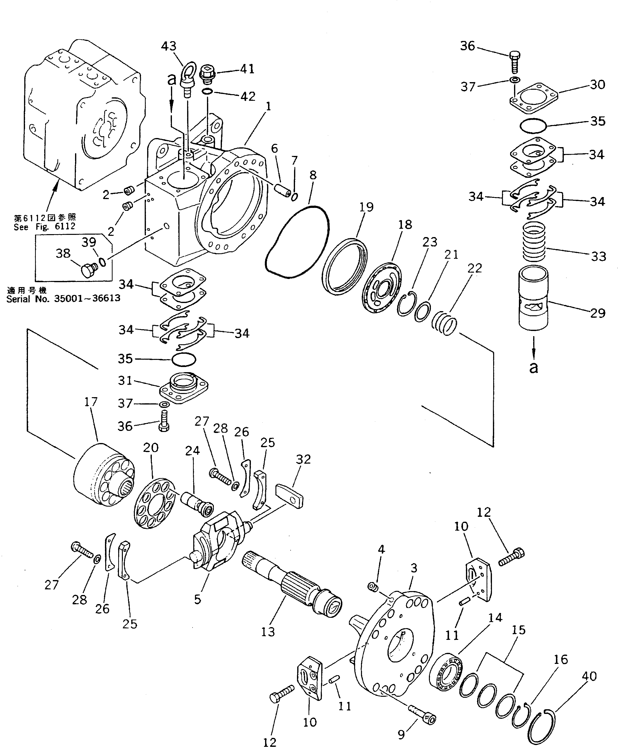
Запчасти Komatsu PC220-5C ГИДР. НАСОС. (/) (НАСОС SUB В СБОРЕ¤ ЗАДН.) УПРАВЛ-Е РАБОЧИМ ОБОРУДОВАНИЕМ

Схема запчастей Komatsu PC220-5C - ГИДР. НАСОС. (/) (НАСОС SUB В СБОРЕ¤ ЗАДН.) УПРАВЛ-Е РАБОЧИМ ОБОРУДОВАНИЕМ
FIT
1:1
100%

Артикул

Название

Примечание

Количество

G-1

206-60-X1270

PUMP GROUP

|$2

708-25-04061

PUMP ASS'Y

|$3

708-25-04022

PUMP ASS'Y

|$4

708-25-04021

PUMP ASS'Y

|$6

708-25-04151

PUMP SUB ASS'Y

|$7

708-25-04112

PUMP SUB ASS'Y

|$8

708-25-04111

PUMP SUB ASS'Y

|$10

708-25-00100

CASE ASS'Y,REAR

1

CASE,REAR

2

PLUG

|$13

708-25-00041

CRADLE ASS'Y,REAR

|$14

708-25-00490

CRADLE SUB ASS'Y,REAR

3

CRADLE,REAR

4

PLUG

5

708-25-13411

CAM,ROCKER

6

708-25-12330

JOINT

7

07000-22015

O-RING

7

708-25-13930

O-RING

8

708-25-12340

O-RING

9

708-25-12350

BOLT

10

708-25-12360

PLATE

11

04020-00820

PIN,DOWEL

12

01010-30816

BOLT

13

708-25-32720

SHAFT

14

708-25-12731

BEARING

15

708-25-05010

WASHER KIT

15

WASHER, 2.0MM

15

WASHER, 2.1MM

15

WASHER, 2.2MM

16

708-25-12790

RING,SNAP

|$33

708-25-00411

CYLINDER BLOCK ASS'Y,CYLINDER

|$34

708-25-00410

BLOCK ASS'Y,CYLINDER

17

708-25-13151

BLOCK,CYLINDER

18

708-25-13620

PLATE,VALVE

19

708-25-13630

RING

20

708-25-13422

RETAINER,SHOE

21

708-25-13120

WASHER

22

708-25-13130

SPRING

23

708-25-13140

RING,SNAP

24

708-25-13312

PISTON SUB ASS'Y

25

708-25-05061

SPACER KIT

25

SPACER, 11.540MM

25

SPACER, 11.560MM

25

SPACER, 11.575MM

26

708-25-13441

RETAINER

27

708-25-13470

SCREW

28

01643-30623

WASHER

29

708-25-14112

PISTON

30

708-25-14140

CAP

31

708-25-14150

CAP

32

708-25-14121

SLIDER

33

708-25-14130

SPRING

34

708-25-05050

SHIM KIT

34

SHIM, 0.1MM

34

SHIM, 0.2MM

34

SHIM, 0.5MM

34

SHIM, 0.1MM

35

07000-02065

O-RING

36

01016-31035

BOLT

37

01643-31032

WASHER

38

720-68-19870

PLUG

39

07002-01223

O-RING

40

708-25-12970

RING,SNAP

41

07044-02412

PLUG

42

07002-02434

O-RING

43

04530-01018

BOLT,EYE

Выбрано товаров: 66