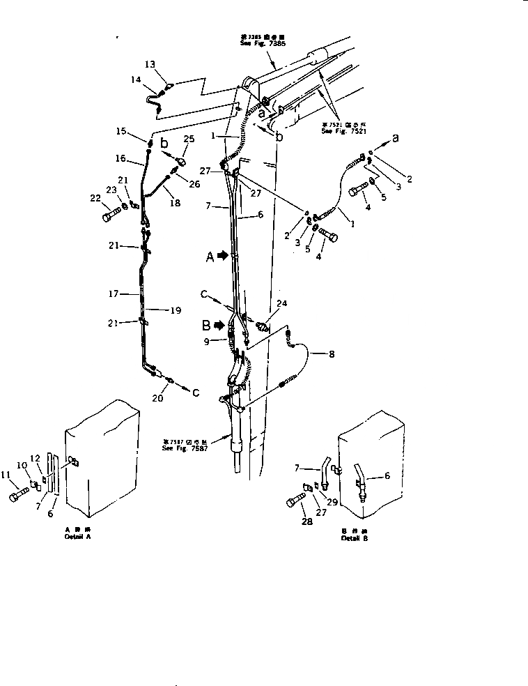
Запчасти Komatsu PC220-5C ЦИЛИНДР КОВША ТРУБЫ (НАВЕСН. ОБОРУД) (РУКОЯТЬ)(ДЛЯ FEET УДЛИНН. РУКОЯТЬ И СТРЕЛА) РАБОЧЕЕ ОБОРУДОВАНИЕ (ЭКСКАВАТ.)

Схема запчастей Komatsu PC220-5C - ЦИЛИНДР КОВША ТРУБЫ (НАВЕСН. ОБОРУД) (РУКОЯТЬ)          (ДЛЯ FEET УДЛИНН. РУКОЯТЬ И СТРЕЛА) РАБОЧЕЕ ОБОРУДОВАНИЕ (ЭКСКАВАТ.)
FIT
1:1
100%

Артикул

Название

Примечание

Количество

1

206-62-52411

HOSE

2

07000-13025

O-RING

3

07371-30640

FLANGE,SPLIT

4

07372-21035

BOLT

5

01643-51032

WASHER

6

20Y-949-1280

TUBE

7

20Y-949-1270

TUBE

8

203-62-57751

HOSE

9

07096-20415

HOSE

10

20Y-62-13710

CLAMP

11

01010-51230

BOLT

12

20Y-62-13450

PLATE

13

205-70-65780

ELBOW

14

208-72-26420

HOSE

15

07213-50813

CONNECTOR

16

20Y-949-1310

TUBE

17

20Y-949-1250

TUBE

18

20Y-949-1290

TUBE

19

20Y-949-1260

TUBE

20

07213-50813

CONNECTOR

21

21K-70-11310

CLIP

22

01010-50612

BOLT

23

01643-30623

WASHER

24

07020-00000

FITTING,GREASE

25

201-01-22130

ELBOW

26

207-70-11730

NIPPLE

27

20Y-62-13650

CLAMP

28

01010-51230

BOLT

29

20Y-62-13450

PLATE

Выбрано товаров: 0