Запчасти Komatsu PC220-5C ПОВОРОТН. МИГАЮЩ. СИГНАЛ ЭЛЕКТРОПРОВОДКА (ШАССИ) КОМПОНЕНТЫ ДВИГАТЕЛЯ И ЭЛЕКТРИКА

Схема запчастей Komatsu PC220-5C - ПОВОРОТН. МИГАЮЩ. СИГНАЛ ЭЛЕКТРОПРОВОДКА (ШАССИ) КОМПОНЕНТЫ ДВИГАТЕЛЯ И ЭЛЕКТРИКА
FIT
1:1
100%

Артикул

Название

Примечание

Количество

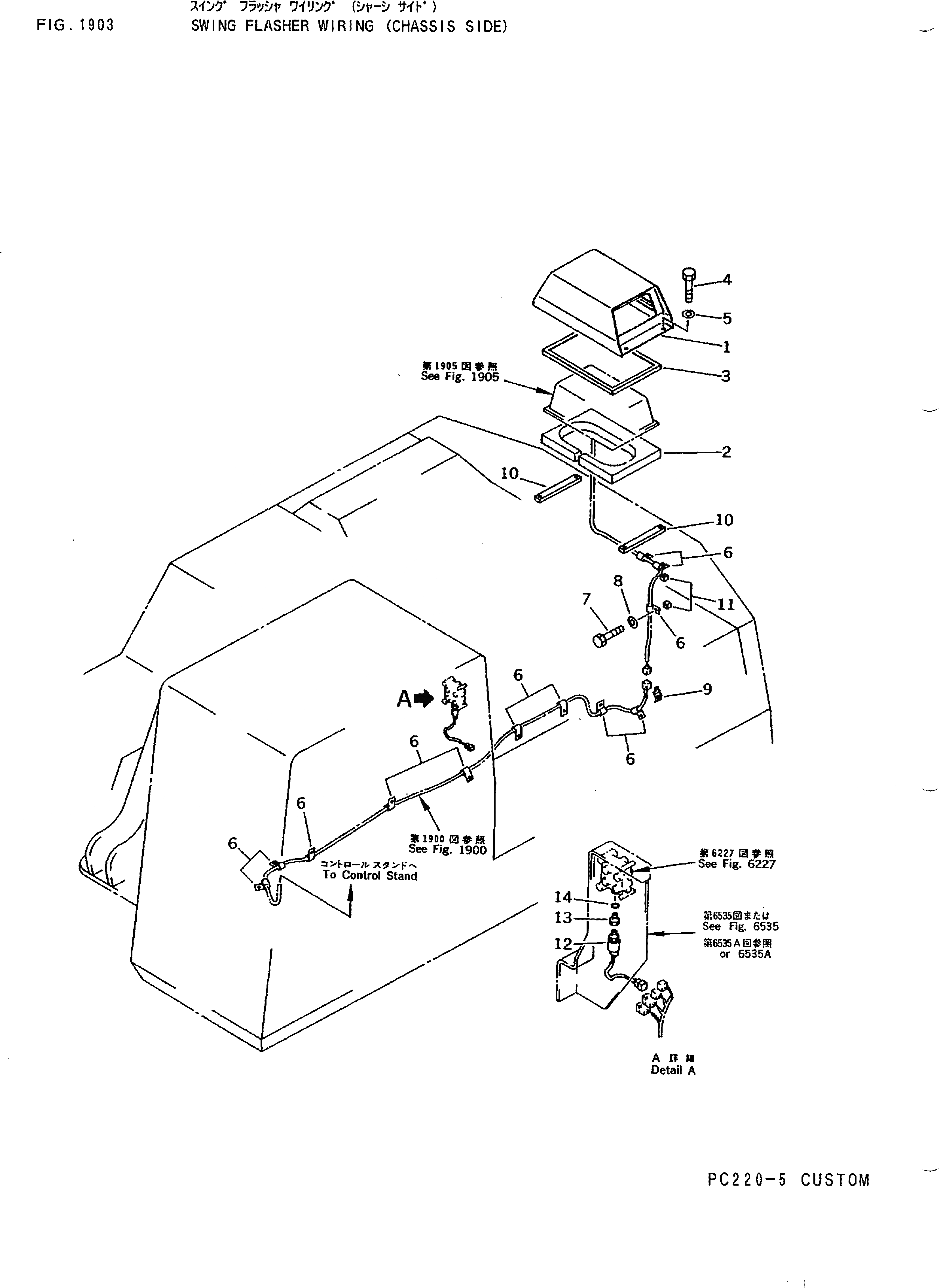
G-1

20Y-06-X9221

FLASHER GROUP

1

20Y-06-15610

COVER

2

20Y-06-15620

CUSHION

3

20Y-06-15630

CUSHION

4

01010-51225

BOLT

5

01643-31232

WASHER

6

08036-01014

CLIP

7

01010-51220

BOLT

8

01643-31232

WASHER

9

08053-01512

CLIP

9

08053-01512

CLIP

10

569-02-41280

BRACKET (WELDED)

11

01572-21219

SEAT (WELDED)

12

20Y-06-15190

SWITCH

13

421-35-11671

ADAPTER

14

07002-01423

O-RING

Выбрано товаров: 16