Запчасти Komatsu PC220-5C ПАНЕЛЬ СТОЙКА (ДЛЯ УДЛИНН. РЫЧАГ УПРАВЛ-Е) (МОРОЗОУСТОЙЧИВ. СПЕЦ-Я (A) СПЕЦ-Я.)(№-) СИСТЕМА УПРАВЛЕНИЯ И ОСНОВНАЯ РАМА

Схема запчастей Komatsu PC220-5C - ПАНЕЛЬ СТОЙКА (ДЛЯ УДЛИНН. РЫЧАГ УПРАВЛ-Е) (МОРОЗОУСТОЙЧИВ. СПЕЦ-Я (A) СПЕЦ-Я.)(№-) СИСТЕМА УПРАВЛЕНИЯ И ОСНОВНАЯ РАМА
FIT
1:1
100%

Артикул

Название

Примечание

Количество

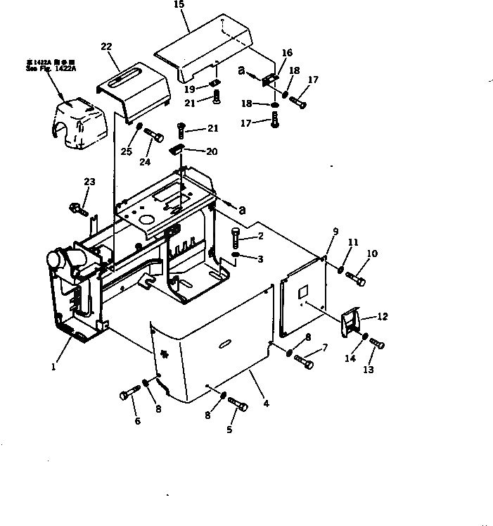
1

20Y-43-17210

BRACKET

2

01010-51225

BOLT

3

20Y-54-12670

WASHER

4

20Y-43-15292

COVER

5

01010-50616

BOLT

6

20Y-43-15460

BOLT

7

01010-50620

BOLT

8

01643-30623

WASHER

9

20Y-43-17130

COVER

10

01010-50620

BOLT

11

01643-30623

WASHER

12

20Y-43-16250

COVER

13

01220-40408

SCREW

14

01641-20405

WASHER

15

203-54-56531

COVER

16

20Y-06-16350

HINGE

17

01220-70510

SCREW

18

01642-40508

WASHER

19

203-54-51550

PLATE

20

203-54-51540

MAGNET

21

01224-40306

SCREW

22

20Y-43-17121

COVER

23

01435-00620

BOLT

24

01010-50620

BOLT

25

01643-30623

WASHER

Выбрано товаров: 25