Запчасти Komatsu PC220-5C КОНДЕНСАТОР КОМПОНЕНТЫ (КОНДИЦ. ВОЗДУХА) ЧАСТИ КОРПУСА

Схема запчастей Komatsu PC220-5C - КОНДЕНСАТОР КОМПОНЕНТЫ (КОНДИЦ. ВОЗДУХА) ЧАСТИ КОРПУСА
FIT
1:1
100%

Артикул

Название

Примечание

Количество

G-1

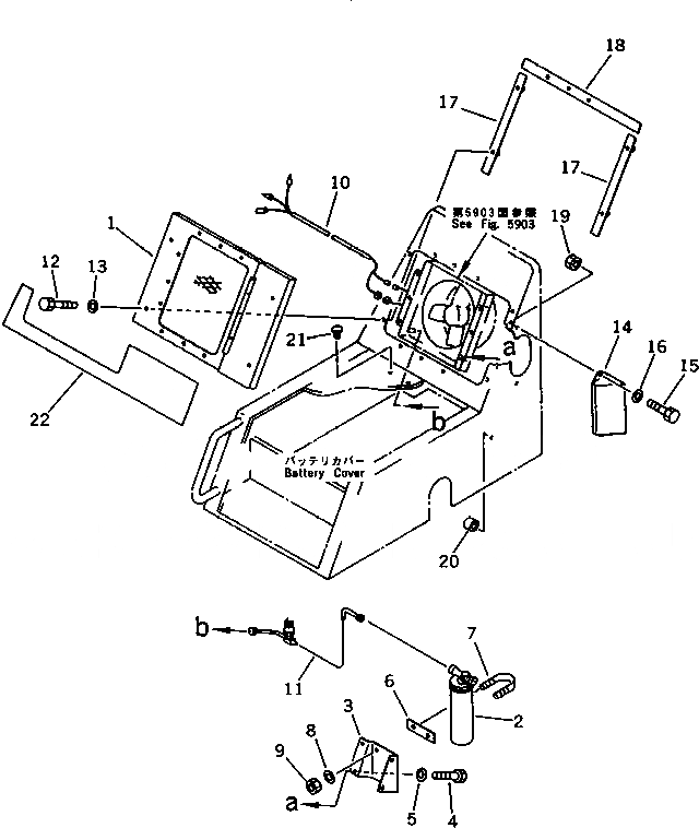
20Y-979-X201

AIR CONDITIONER G.

|$$2

====================

1

20Y-979-1210

COVER

2

198-911-4610

TANK,RECEIVER

|2

145-Z79-4860

BOLT

3

20Y-979-1230

BRACKET

4

01010-50820

BOLT

5

01643-30823

WASHER

6

565-95-21360

SEAT

7

205-979-1230

CLIP

8

01643-31032

WASHER

9

01599-01011

NUT

10

20Y-979-1510

WIRING HARNESS

11

20Y-979-1220

TUBE

12

01010-50840

BOLT

13

01643-30823

WASHER

14

20Y-973-1230

COVER

15

01010-50812

BOLT

16

01643-30823

WASHER

17

20Y-979-1250

PLATE (WELDED)

18

20Y-979-1260

PLATE (WELDED)

19

01580-00806

NUT (WELDED)

20

01571-01218

SEAT (WELDED)

21

203-54-32260

STOPPER

22

20Y-979-1460

PLATE¤ MARK

|$$26

====================

Выбрано товаров: 26