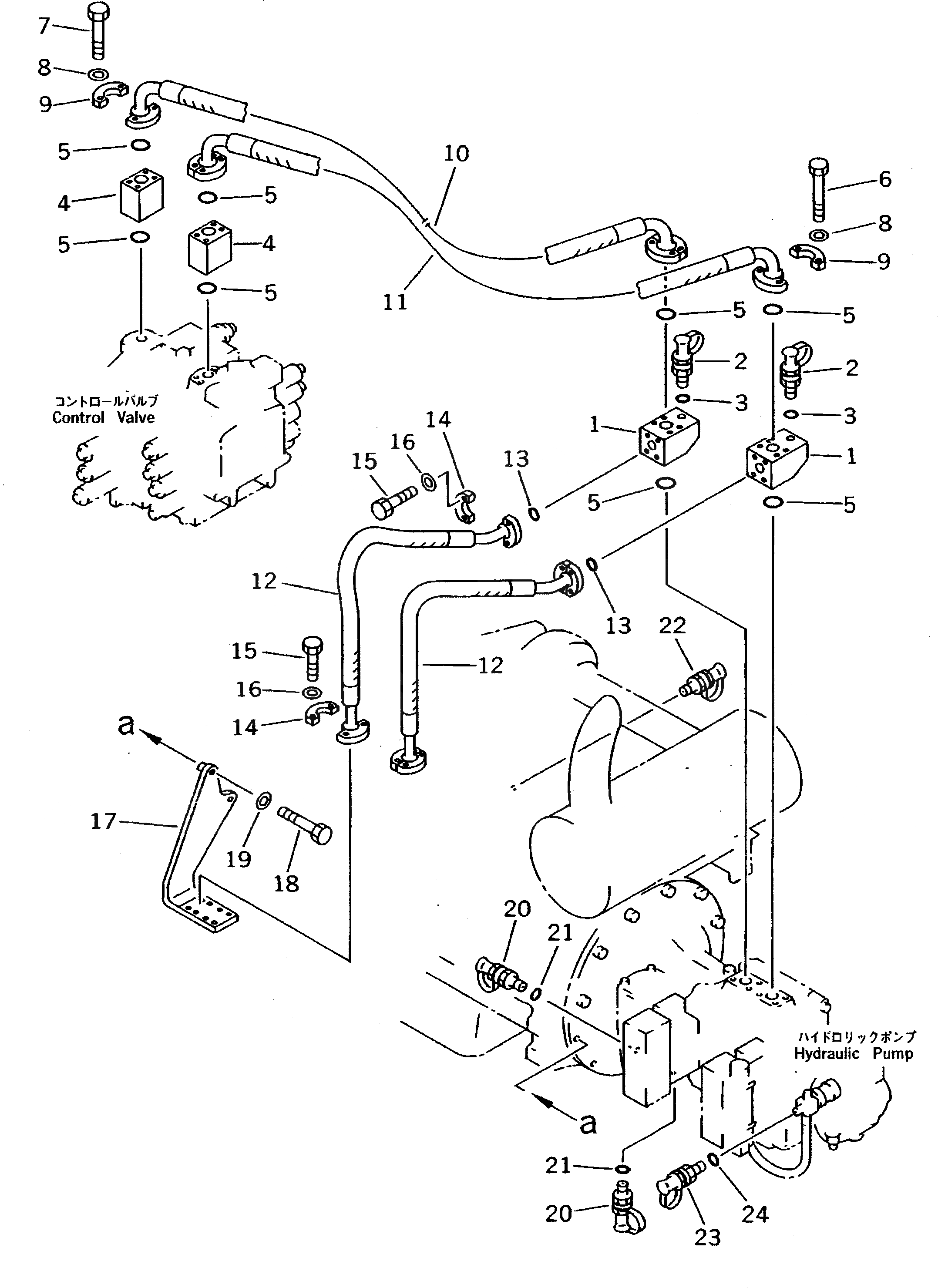
Запчасти Komatsu PC220-5C НАСОС - УПРАВЛЯЮЩ. КЛАПАН ТРУБЫ (С МАСЛ. PRESSURE КОНТРОЛЬ ПАТРУБОК)(№-) УПРАВЛ-Е РАБОЧИМ ОБОРУДОВАНИЕМ

Схема запчастей Komatsu PC220-5C - НАСОС - УПРАВЛЯЮЩ. КЛАПАН ТРУБЫ (С МАСЛ. PRESSURE КОНТРОЛЬ ПАТРУБОК)(№-) УПРАВЛ-Е РАБОЧИМ ОБОРУДОВАНИЕМ
FIT
1:1
100%

Артикул

Название

Примечание

Количество

1

20Y-62-16710

BLOCK

2

799-101-5230

NIPPLE

3

209-62-61330

O-RING

4

20Y-62-18550

BLOCK

5

21T-09-11460

O-RING

6

113-22-21230

BOLT

7

205-62-51310

BOLT

8

01643-51032

WASHER

9

07371-31049

FLANGE,SPLIT

10

20Y-62-15130

HOSE

11

20Y-62-15140

HOSE

12

20Y-62-11980

HOSE

13

21T-09-11430

O-RING

14

07371-30640

FLANGE,SPLIT

15

07372-21035

BOLT

16

01643-51032

WASHER

17

20Y-62-15580

BRACKET

18

01010-51080

BOLT

19

01643-31032

WASHER

20

799-101-5220

NIPPLE

21

07002-01023

O-RING

22

195-49-36120

NIPPLE

23

799-101-5220

NIPPLE

24

07002-01023

O-RING

Выбрано товаров: 24