Запчасти Komatsu PC220-5C МЕХАНИЗМ УПРАВЛ-Я ПОДАЧЕЙ ТОПЛИВА(№-7) СИСТЕМА УПРАВЛЕНИЯ И ОСНОВНАЯ РАМА

Схема запчастей Komatsu PC220-5C - МЕХАНИЗМ УПРАВЛ-Я ПОДАЧЕЙ ТОПЛИВА(№-7) СИСТЕМА УПРАВЛЕНИЯ И ОСНОВНАЯ РАМА
FIT
1:1
100%

Артикул

Название

Примечание

Количество

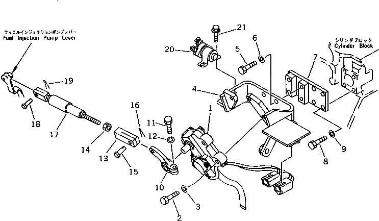
1

7824-30-1600

MOTOR ASS'Y

2

01010-51040

BOLT

3

01643-31032

WASHER

4

20Y-43-12122

BRACKET

5

01010-51025

BOLT

6

01643-31032

WASHER

7

20Y-43-12132

BRACKET

8

01010-51025

BOLT

9

01643-31032

WASHER

10

20Y-43-12141

LEVER

11

01010-51035

BOLT

12

01602-21030

WASHER,SPRING

13

207-43-34240

YOKE

14

01582-11008

NUT

15

04205-11028

PIN

16

04050-13020

PIN,COTTER

17

20Y-43-12113

SPRING ASS'Y

18

04205-10622

PIN

19

04050-11612

PIN,COTTER

20

600-815-2170

SWITCH,HEATER

21

01435-20612

BOLT

Выбрано товаров: 21