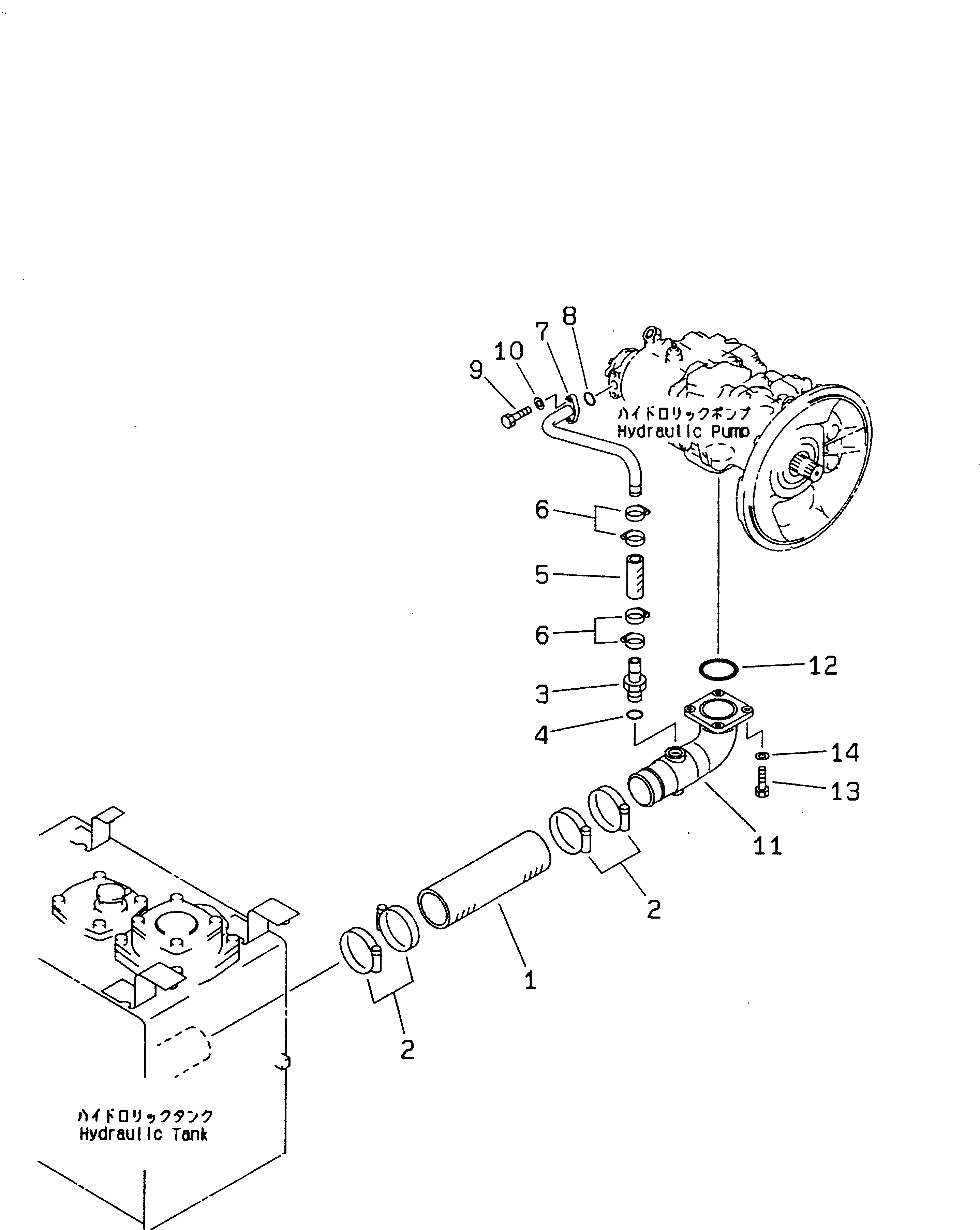
Запчасти Komatsu PC220-6 ВСАСЫВ. ЛИНИЯ(№-7) ГИДРАВЛИКА

Схема запчастей Komatsu PC220-6 - ВСАСЫВ. ЛИНИЯ(№-7) ГИДРАВЛИКА
FIT
1:1
100%

Артикул

Название

Примечание

Количество

1

07260-08736

HOSE

1

07260-28736

HOSE

2

07289-00105

CLAMP

2

07289-00120

CLAMP

2

205-09-61110

CLAMP

3

20Y-62-11970

CONNECTOR

4

07002-03334

O-RING

5

07260-02611

HOSE

6

07289-00035

CLAMP

6

207-09-11110

CLAMP

7

20Y-62-21121

TUBE

8

07000-03028

O-RING

9

01010-51030

BOLT

10

01643-31032

WASHER

11

20Y-62-21111

ELBOW

12

07000-02085

O-RING

13

01010-51235

BOLT

14

01643-31232

WASHER

Выбрано товаров: 18