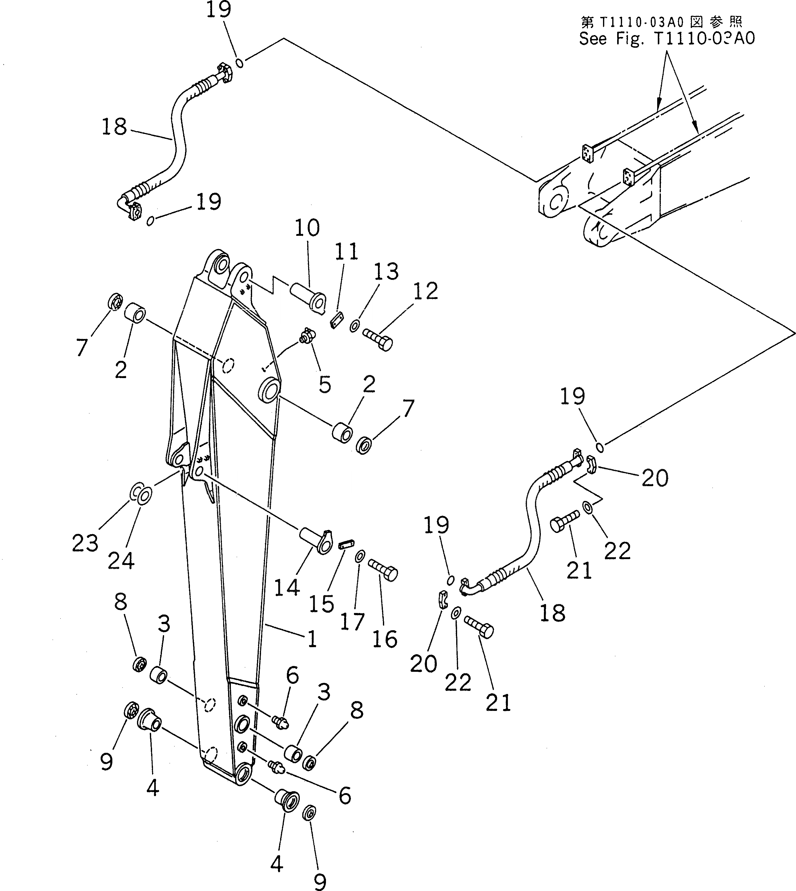
Запчасти Komatsu PC220-6 РУКОЯТЬ (.M) РАБОЧЕЕ ОБОРУДОВАНИЕ

Схема запчастей Komatsu PC220-6 - РУКОЯТЬ (.M) РАБОЧЕЕ ОБОРУДОВАНИЕ
FIT
1:1
100%

Артикул

Название

Примечание

Количество

|$2

206-70-00251

ARM ASS'Y

1

ARM

2

205-70-72180

BUSHING

3

21K-70-12161

BUSHING

4

205-70-72130

BUSHING

5

07020-00900

FITTING

6

07020-00000

FITTING

7

07145-00090

SEAL

8

20Y-70-23230

SEAL

8

205-70-62140

SEAL

9

205-70-62150

SEAL

10

206-70-51170

PIN

11

205-70-66580

PLATE

12

01010-81230

BOLT

12

01010-51230

BOLT

13

01643-31232

WASHER

14

205-70-71320

PIN

15

205-70-66580

PLATE

16

01010-81230

BOLT

16

01010-51230

BOLT

17

01643-31232

WASHER

18

206-62-52411

HOSE

19

07000-13025

O-RING

20

07371-30640

FLANGE

21

07372-21035

BOLT

22

01643-51032

WASHER

23

20Y-70-11340

SPACER, 0.8MM

24

205-70-51530

SPACER, 1.5MM

Выбрано товаров: 28