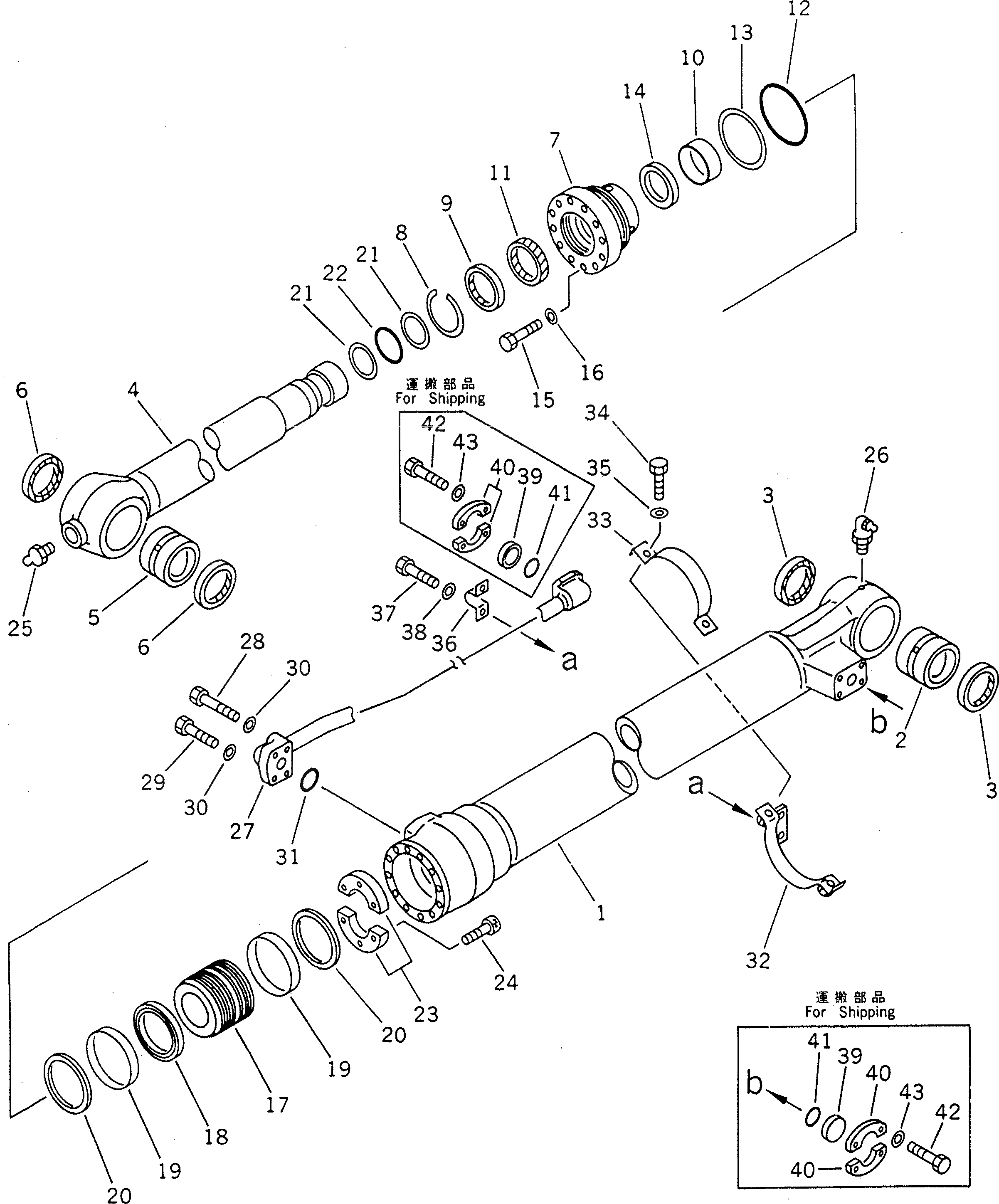
Запчасти Komatsu PC220-6 ЦИЛИНДР КОВША (УСИЛ.) (ДЛЯ .M РУКОЯТЬ) ОСНОВН. КОМПОНЕНТЫ И РЕМКОМПЛЕКТЫ

Схема запчастей Komatsu PC220-6 - ЦИЛИНДР КОВША (УСИЛ.) (ДЛЯ .M РУКОЯТЬ) ОСНОВН. КОМПОНЕНТЫ И РЕМКОМПЛЕКТЫ
FIT
1:1
100%

Артикул

Название

Примечание

Количество

G-1

206-63-X9080

BUCKET CYLINDER G.

G-1

206-63-X7030

BUCKET CYLINDER G.

|$3

206-63-07030

CYLINDER ASS'Y

1

206-63-73440

CYLINDER

2

707-76-80010

BUSHING

3

07145-00080

SEAL,DUST (KIT)

4

206-63-73420

ROD,PISTON

5

707-76-80020

BUSHING

6

205-70-62140

SEAL,DUST (KIT)

7

707-27-13620

HEAD,CYLINDER

8

07179-13104

RING,SNAP

9

195-63-94170

SEAL,DUST (KIT)

10

707-52-90650

BUSHING

11

707-51-90030

PACKING,ROD (KIT)

12

07000-15125

O-RING (KIT)

13

07001-05125

RING,BACK-UP (KIT)

14

707-51-90630

RING,BUFFER (KIT)

15

01010-81670

BOLT

16

01643-51645

WASHER

17

707-36-13320

PISTON

18

707-44-13180

RING,PISTON (KIT)

19

707-39-13110

RING,WEAR (KIT)

20

707-44-13911

RING

21

707-35-52910

RING,BACK-UP

22

07000-12070

O-RING

23

707-40-13670

SPACER

24

01252-31240

BOLT

25

07020-00000

FITTING,GREASE

26

07020-00900

FITTING,GREASE

27

206-63-73470

TUBE

28

07372-21060

BOLT

29

07372-21045

BOLT

30

01643-51032

WASHER

31

07000-13030

O-RING (KIT)

32

707-88-95980

BRACKET

33

707-88-96100

BAND

34

01010-51035

BOLT

35

01643-51032

WASHER

36

07282-02793

CLAMP

37

01010-51020

BOLT

38

01643-31032

WASHER

39

07378-10600

HEAD

40

20Y-62-11150

FLANGE

41

07000-13025

O-RING

42

07372-21035

BOLT

43

01643-51032

WASHER

Выбрано товаров: 46