Запчасти Komatsu PC220-6 ОСНОВН. КОНСТРУКЦИЯ (ЭЛЕКТРИЧ. РЕГУЛЯТОР) (РАБОЧ. РЫЧАГ С PPC КЛАПАН) ( АКТУАТОР)(№-99) КАБИНА ОПЕРАТОРА И СИСТЕМА УПРАВЛЕНИЯ

Схема запчастей Komatsu PC220-6 - ОСНОВН. КОНСТРУКЦИЯ (ЭЛЕКТРИЧ. РЕГУЛЯТОР) (РАБОЧ. РЫЧАГ С     PPC КЛАПАН) ( АКТУАТОР)(№-99) КАБИНА ОПЕРАТОРА И СИСТЕМА УПРАВЛЕНИЯ
FIT
1:1
100%

Артикул

Название

Примечание

Количество

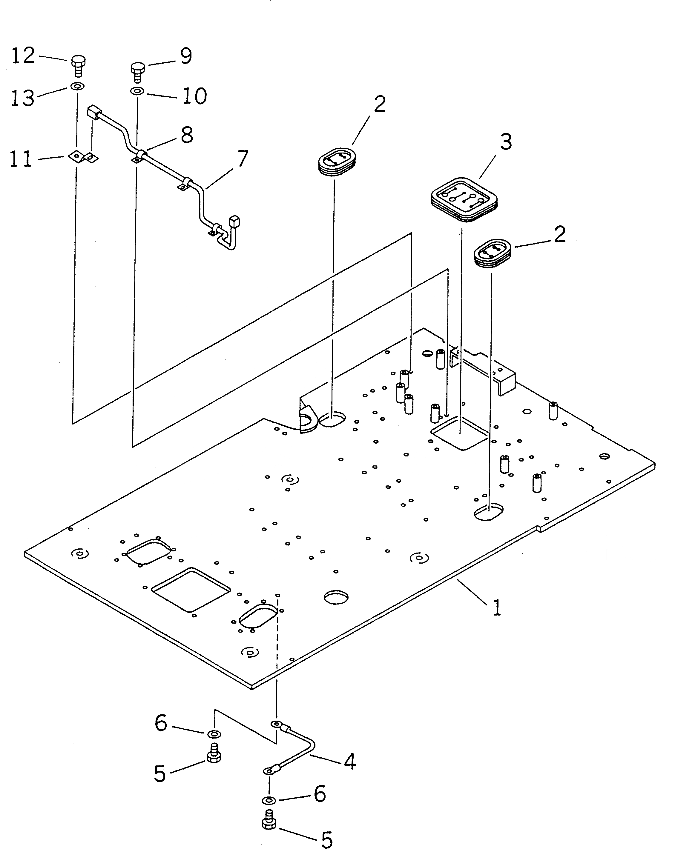
1

20Y-54-29760

FRAME

2

20Y-43-21831

GROMMET

3

20Y-43-21841

GROMMET

4

08028-43030

CABLE

5

01010-51016

BOLT

6

01643-31032

WASHER

7

20Y-06-21361

WIRING HARNESS

8

08036-00814

CLIP

9

01010-51220

BOLT

10

01643-31232

WASHER

11

08053-01512

CLIP

12

01010-51225

BOLT

13

01643-31232

WASHER

Выбрано товаров: 13