Запчасти Komatsu PC220-6 ГУСЕНИЧНАЯ РАМА(№-77) ХОДОВАЯ

Схема запчастей Komatsu PC220-6 - ГУСЕНИЧНАЯ РАМА(№-77) ХОДОВАЯ
FIT
1:1
100%

Артикул

Название

Примечание

Количество

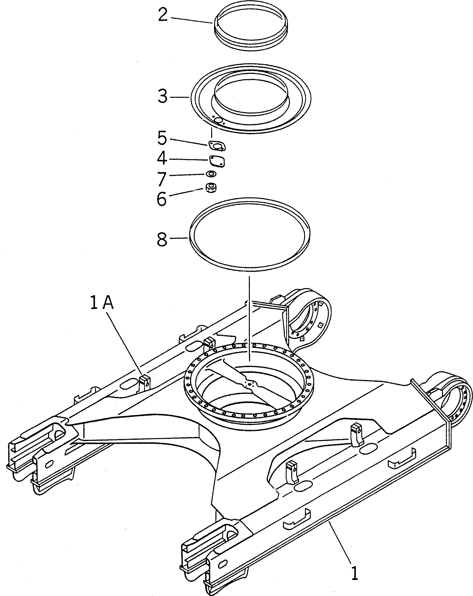
1

206-30-61112

FRAME,TRACK

1A

20Y-30-11720

PLATE (WELDED)

2

205-30-71171

SEAL

3

20Y-30-21150

COVER

4

205-30-71181

COVER

5

205-30-71191

GASKET

6

01580-11008

NUT

7

01643-31032

WASHER

8

20Y-30-11370

SEAL

Выбрано товаров: 9