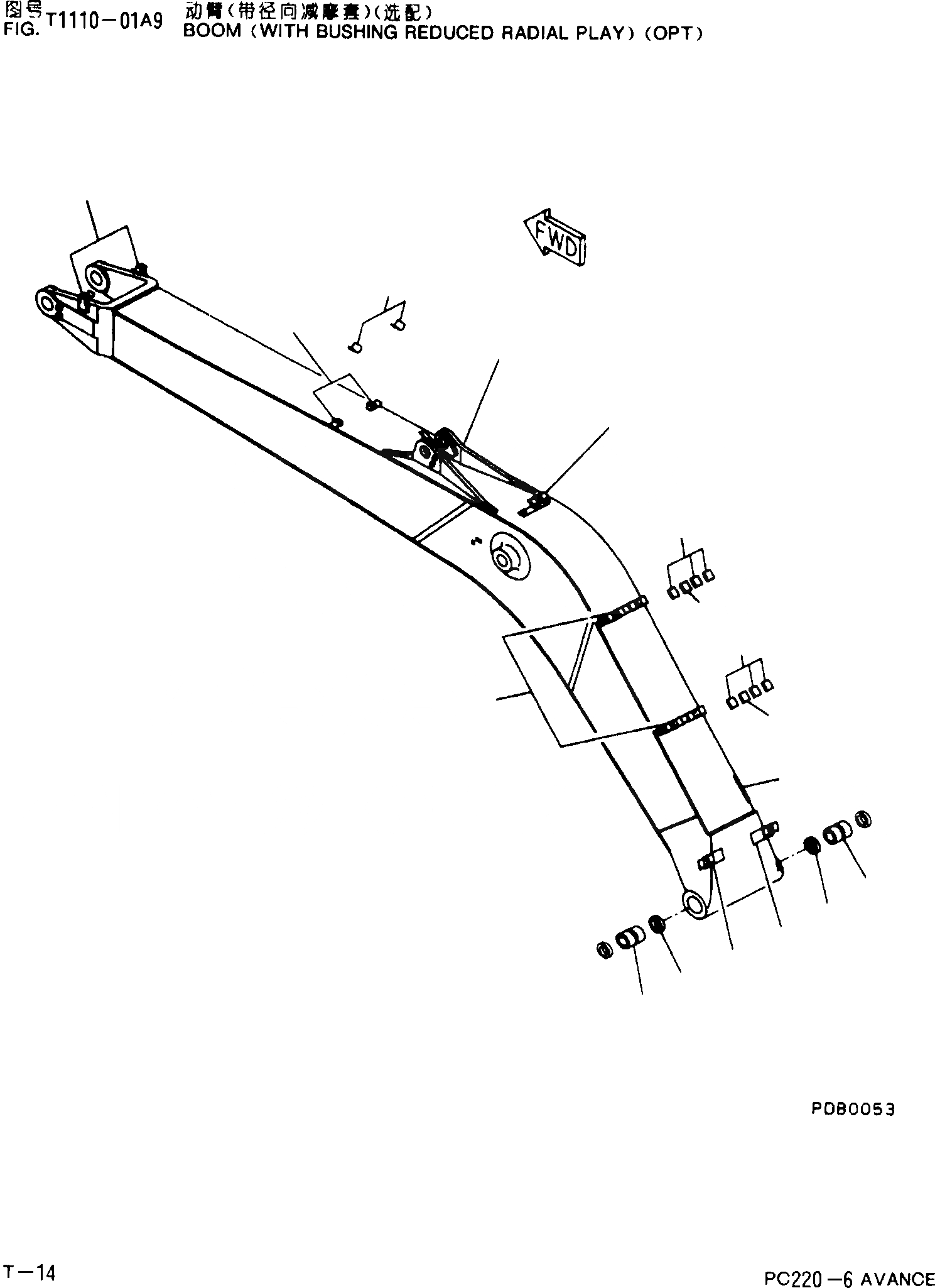
Запчасти Komatsu PC220-6 СТРЕЛА(С ВТУЛКА REDUCED RADIAL PLAY)(ОПЦИОНН.) T [РАБОЧЕЕ ОБОРУДОВАНИЕ]

Схема запчастей Komatsu PC220-6 - СТРЕЛА(С ВТУЛКА REDUCED RADIAL PLAY)(ОПЦИОНН.) T [РАБОЧЕЕ ОБОРУДОВАНИЕ]
9
6
7
1
5
9
10
9
10
8
4
11
12
3
2
12
11
FIT
1:1
100%

Артикул

Название

Примечание

Количество

|$1

206-70-00360

BOOMASS'Y

1

BOOM

2

20Y-62-24180

BRACKET

3

20Y-62-24190

BRACKET

4

20Y-62-24211

BRACKET

5

206-62-64250

BRACKET

6

206-62-52281

BRACKET

7

20Y-70-11641

BRACKET

8

20Y-70-11651

SEAT

9

20Y-62-13760

SEAT

10

205-62-73430

SEAT

11

206-70-61191

BUSHING

12

07145-00100

SEAL,DUST

Выбрано товаров: 13