Качественные детали и логистика
Оригинальные и аналоговые запчасти с доставкой по России, Казахстану и Беларуси
©2022 PartSell ООО "Система" ИНН 2463123282 ОГРН 1212400004838
Центральный офис: г. Красноярск, Академика Киренского, д.87, пом.4
Телефон: 8 (800) 777-65-74 Email: zakaz@partsell.ru
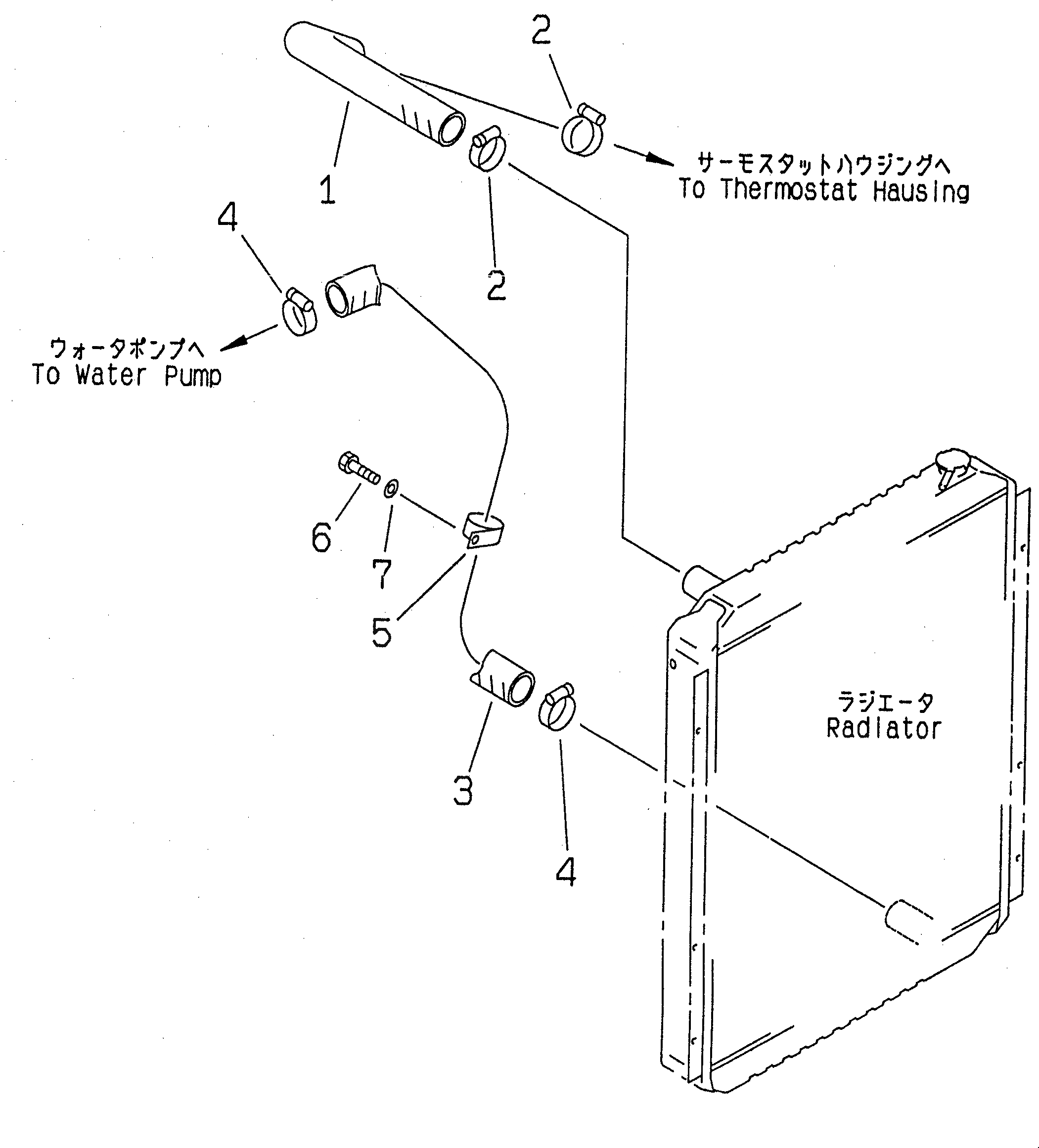
ОХЛАЖД-Е (ТРУБЫ)(№-7)
№
Артикул
Название
Примечание
Количество
1
20Y-03-21290
HOSE
2
07289-00055
CLAMP
208-09-11110
3
20Y-03-21282
4
5
208-62-38370
CLIP
6
01010-51025
BOLT
7
01643-31032
WASHER
Выбрано товаров: 0