Запчасти Komatsu PC220-6Z КОВШ ДЛЯ ЗАЧИСТКИ ТРАНШЕЙ¤ .8M (CECE .7M)¤ 8MM РАБОЧЕЕ ОБОРУДОВАНИЕ

Схема запчастей Komatsu PC220-6Z - КОВШ ДЛЯ ЗАЧИСТКИ ТРАНШЕЙ¤ .8M (CECE .7M)¤ 8MM РАБОЧЕЕ ОБОРУДОВАНИЕ
FIT
1:1
100%

Артикул

Название

Примечание

Количество

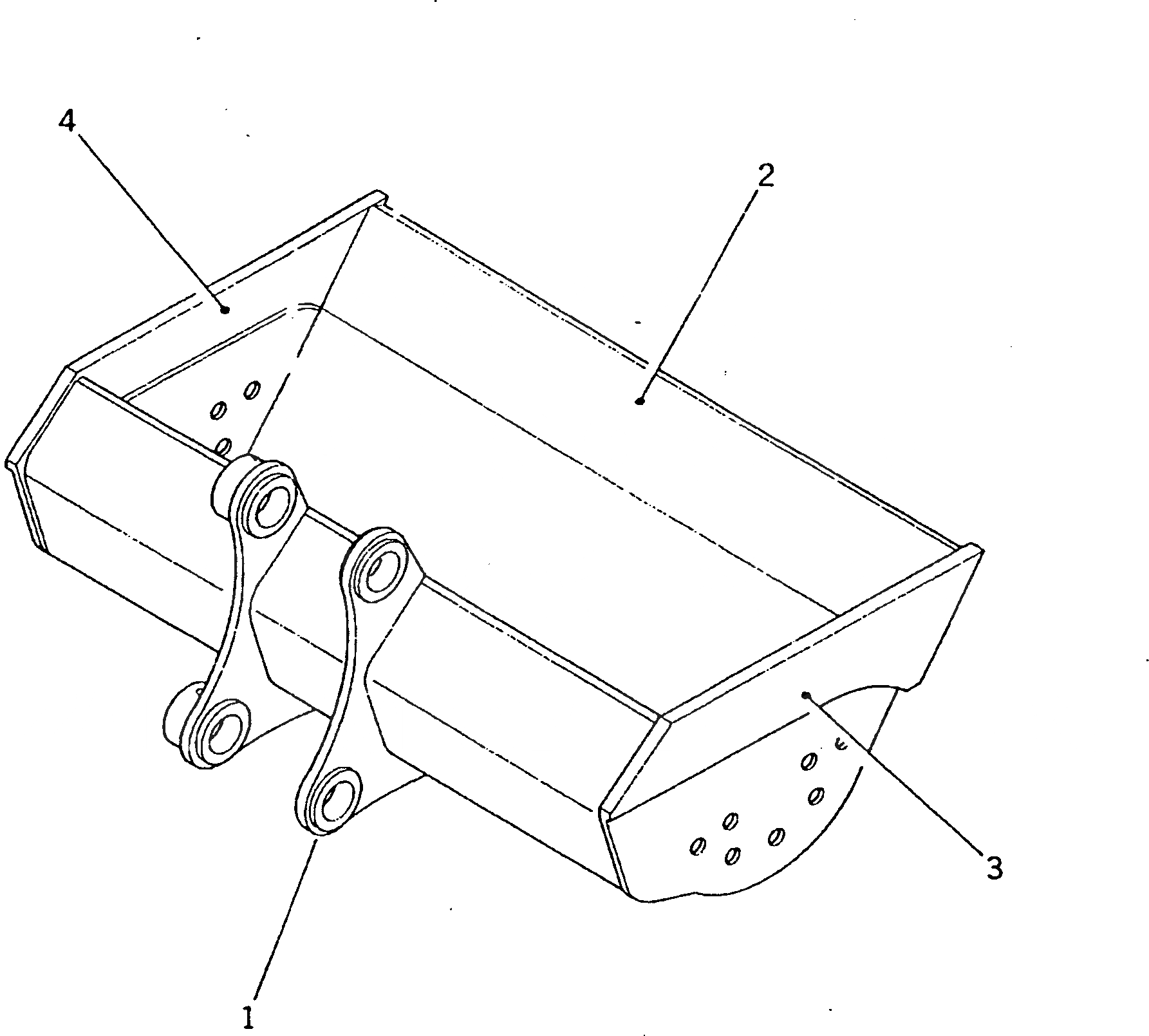
1

205-938-7111

BUCKET

2

205-938-6220

PLATE (WELDED)

3

205-938-6230

PLATE,L.H. (WELDED)

4

205-938-6240

PLATE,R.H. (WELDED)

Выбрано товаров: 4