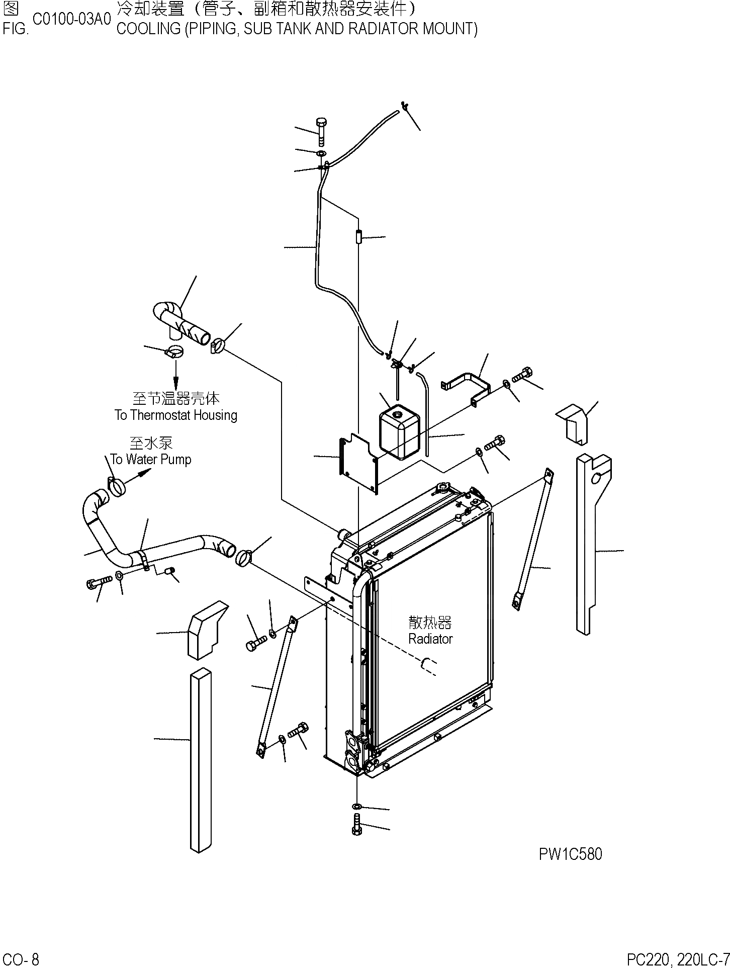
Запчасти Komatsu PC220-7 ОХЛАЖД-Е (ТРУБЫ, ВТОРИЧН. БАК И КРЕПЛЕНИЕ РАДИАТОРА) СИСТЕМА ОХЛАЖДЕНИЯ]

Схема запчастей Komatsu PC220-7 - ОХЛАЖД-Е (ТРУБЫ, ВТОРИЧН. БАК И КРЕПЛЕНИЕ РАДИАТОРА) СИСТЕМА ОХЛАЖДЕНИЯ]
3
4
2
6
1
5
12
11
12
15
16
13
17
18
19
8
32
33
31
10
35
34
31
7
9
26
27
22
30
29
20
24
14
28
21
23
25
37
36
FIT
1:1
100%

Артикул

Название

Примечание

Количество

1

175-61-17240

COLLAR

2

04434-51210

CLIP

3

01010-81090

BOLT

4

01643-31032

WASHER

5

22B-03-11340

HOSE

6

206-03-43340

CLIP

7

20Y-03-31331

SEAL

8

206-03-71250

SHEET

9

206-03-71260

SHEET

10

20Y-03-31460

SHEET

11

206-03-71190

HOSE

12

07289-00055

CLAMP

13

206-03-71211

HOSE

14

07289-00055

CLAMP

15

07289-00070

CLAMP

16

208-62-38370

CLIP

17

01010-81055

BOLT

18

01643-31032

WASHER

19

22D-62-18450

SPACER

20

20Y-06-15240

TANK ASS'Y

21

205-03-71532

CAP

|$22

205-03-71540

PACKING

22

208-03-58290

HOSE

23

206-03-43340

CLIP

24

20Y-03-31341

BRACKET

25

203-03-56650

BRACKET

26

01010-80820

BOLT

27

01643-30823

WASHER

28

206-03-43340

CLIP

29

01010-81225

BOLT

30

01643-31232

WASHER

31

20Y-03-31210

STAY

32

01010-81635

BOLT

33

01643-31645

WASHER

34

01010-81635

BOLT

35

21T-54-16150

WASHER

36

01016-51250

BOLT

37

01643-31232

WASHER

Выбрано товаров: 38