Запчасти Komatsu PC220-8 ПРОТИВОВЕС (KG) (С ЗАДН. VIEW CAMERA) ЧАСТИ КОРПУСА

Схема запчастей Komatsu PC220-8 - ПРОТИВОВЕС (KG) (С ЗАДН. VIEW CAMERA) ЧАСТИ КОРПУСА
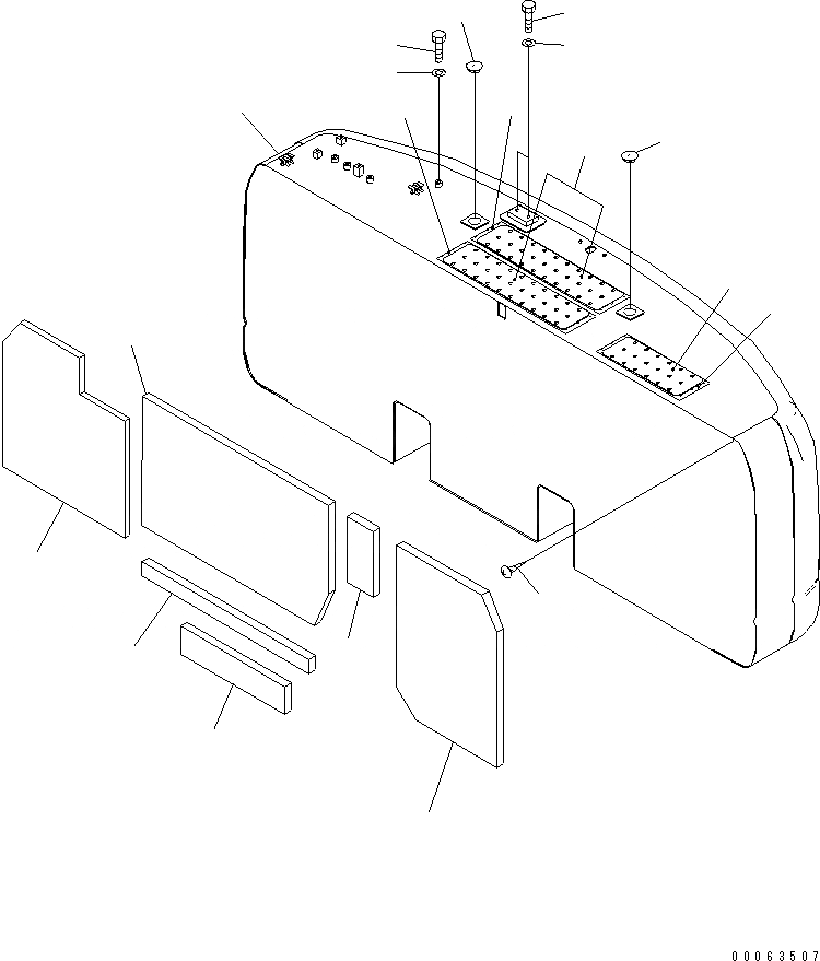
1
2
2
3
4
5
6
7
8
9
10
11
12
12
13
14
14
15
15
FIT
1:1
100%

Артикул

Название

Примечание

Количество

|$2

206-46-28411

WEIGHT

1

WEIGHT

2

20Y-46-54313

PLATE (WELDED)

3

20Y-46-54323

PLATE (WELDED)

4

20Y-46-54141

SHEET

5

20Y-46-54151

SHEET

6

20Y-46-54160

SHEET

7

20Y-46-54170

SHEET

8

20Y-46-54180

SHEET

9

20Y-46-54190

SHEET

10

20Y-00-42150

PLATE

11

20Y-00-42160

PLATE

12

20Y-46-11270

CAP

13

01370-00508

SCREW

14

01010-81220

BOLT

15

01643-31232

WASHER

Выбрано товаров: 16